LEMON Manuals: Even more car manuals for everyone: 1960-2025
Home >> GMC >> 2021 >> Acadia AT4 >> Repair and Diagnosis >> External Pages >> Different car >> Section 50 (Component Connector End Views (K124 (X2)-P19J)) >> Component Connector End Views >> K157 Video Processing Control Module X1 (UVH)
April 5, 2026: LEMON Manuals is launched! Read the announcement.

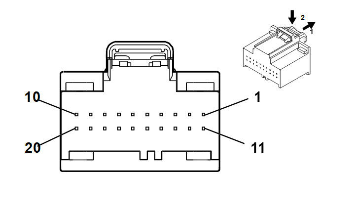
K157 Video Processing Control Module X1 (UVH)

WARNING: This page is about a different car, the 2019 GMC Acadia. However, it is still accessible from the selected car via links, so may be relevant.
GM5112891Courtesy of GENERAL MOTORS COMPANY
Connector Part Information
  • Harness Type: Body
  • OEM Connector: 31410-0205
  • Service Connector: 13525990
  • Description: 20-Way F 0.64 Series (BK)
Terminal Part Information

Terminal Type ID Terminated Lead Diagnostic Test Probe Terminal Removal Tool Service Terminal Tray Name Core Crimp Insulation Crimp
I 13575742 J-35616-64B (LT BU) J-38125-215A SAIT-A03T-M064 Yazaki 14 P P
II 13575867 J-35616-64B (LT BU) J-38125-215A SAIT-A03T-M064 Yazaki 14 P P
Pin Size Color Circuit Function Terminal Type ID Option
1 0.35 GY/YE 6972 Camera Signal 2 + II UVH
2 0.35 BN/BK 6202 Camera Ground II UVH
3 0.35 BK 2150 Ground II UVH
4 0.35 GY/YE 6972 Camera Signal 2 + II UVH
5 0.35 GY/YE 6972 Camera Signal 2 + II UVH
6 0.35 BK 2150 Ground II UVH
7 0.5 BK 2150 Ground I UVH
8 0.35 GY/YE 6972 Camera Signal 2 + II UVH
9 - 10 - - - Not Occupied - -
11 0.35 WH/BU 6973 Camera Signal 2 II UVH
12 0.35 BN/RD 2063 6V Reference II UVH
13 0.35 BN/RD 2063 6V Reference II UVH
14 0.35 WH/BU 6973 Camera Signal 2 II UVH
15 0.35 WH/BU 6973 Camera Signal 2 II UVH
16 0.35 BN/RD 2063 6V Reference II UVH
17 0.35 BN/RD 2063 6V Reference II UVH
18 0.35 WH/BU 6973 Camera Signal 2 II UVH
19 - 20 - - - Not Occupied - -