LEMON Manuals: Even more car manuals for everyone: 1960-2025
Home >> GMC >> 2021 >> Acadia SL >> Repair and Diagnosis >> External Pages >> Different car >> Section 440 (Component Connector End Views (K20-K40)) >> Component Connector End Views >> K40 Seat Memory Control Module X1 (AAB)
April 5, 2026: LEMON Manuals is launched! Read the announcement.

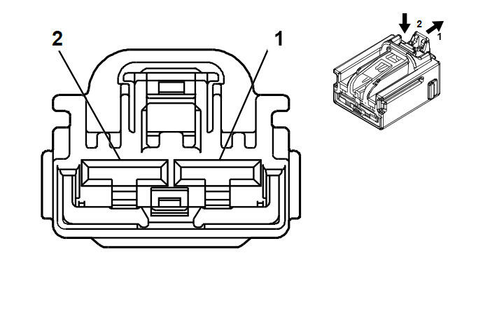
K40 Seat Memory Control Module X1 (AAB)

WARNING: This page is about a different car, the 2023 GMC Acadia. However, it is still accessible from the selected car via links, so may be relevant.
GM5116029Courtesy of GENERAL MOTORS COMPANY
Connector Part Information
  • Harness Type: Front Seat Wiring Harness - Driver
  • OEM Connector: 7289-7782-40
  • Service Connector: Service by Harness - See Part Catalog
  • Description: 2-Way F 6.3 Series (GY)
Terminal Part Information

Terminal Type ID Terminated Lead Diagnostic Test Probe Terminal Removal Tool
I Not required J-35616-42 (RD) No Tool Required
Pin Size Color Circuit Function Terminal Type ID Option
1 1 RD/GN 5140 Battery Positive Voltage I  
2 2.5 RD/YE 5040 Battery Positive Voltage I