LEMON Manuals: Even more car manuals for everyone: 1960-2025
Home >> Geo >> 1994 >> Prizm Base, Automatic >> Repair and Diagnosis (Single Page) >> Engine Performance >> System >> Engine Controls - Tests W/Codes >> Diagnostic Code Charts (PRIZM) >> Code 41 (PRIZM) - Throttle Position Sensor, Open Or Shorted Circuit >> Diagnostic Aids
April 5, 2026: LEMON Manuals is launched! Read the announcement.

Diagnostic Aids

Check for properly adjusted TP sensor before replacement of TP sensor. If Codes 22, 24 and 31 are also set, problem is open in sensor ground circuit. An intermittent condition may be caused by poor connection, rubbed-through insulation, or a broken wire inside insulation. Check ECM harness connectors for backed-out terminals, improper mating, broken locks, improperly formed or damaged terminals, and poor terminal-to-wire connections before component replacement.

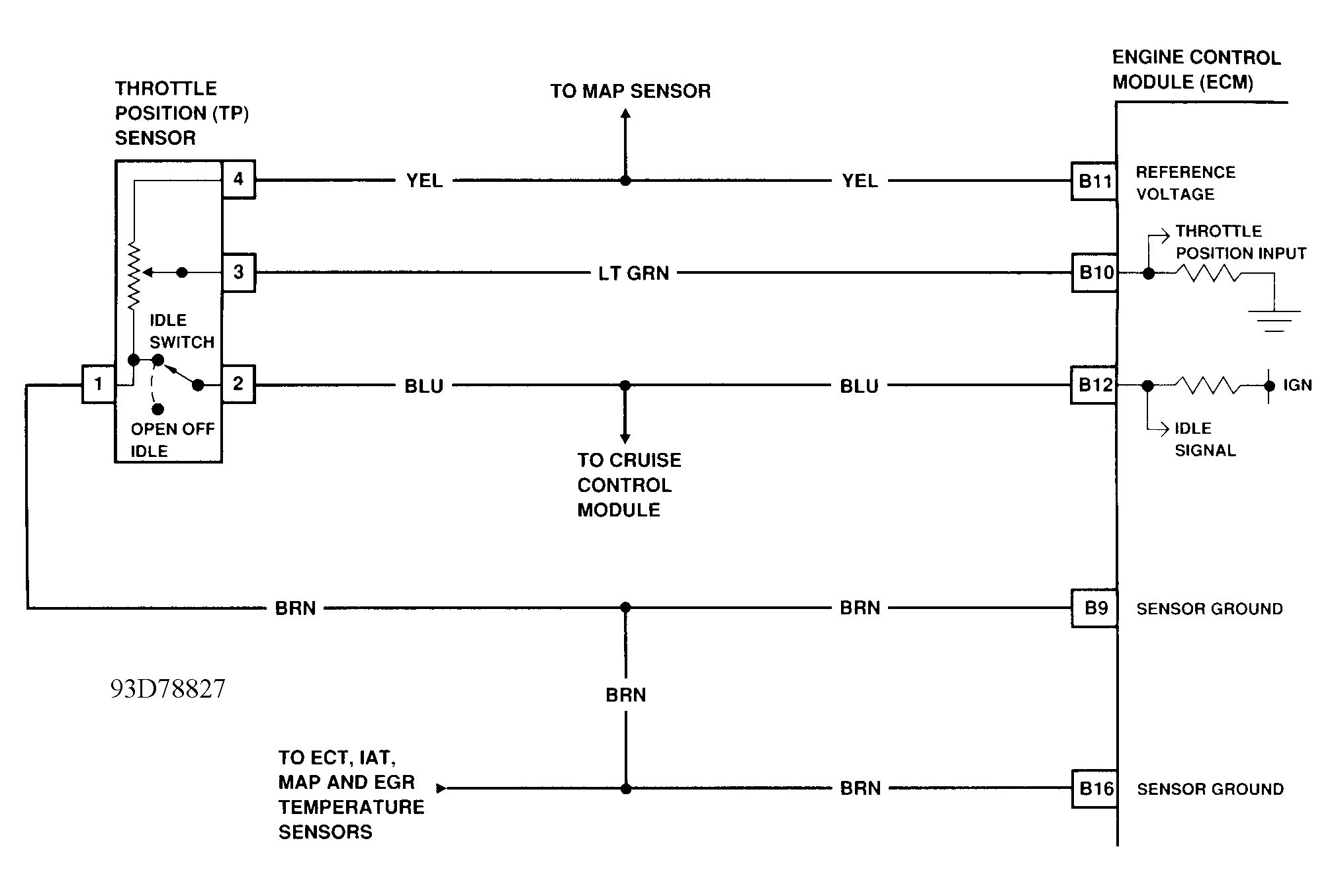
Fig 1: CODE 41 - Schematic (Prizm) Throttle Position Sensor, Open Or Shorted Circuit
G93D78827
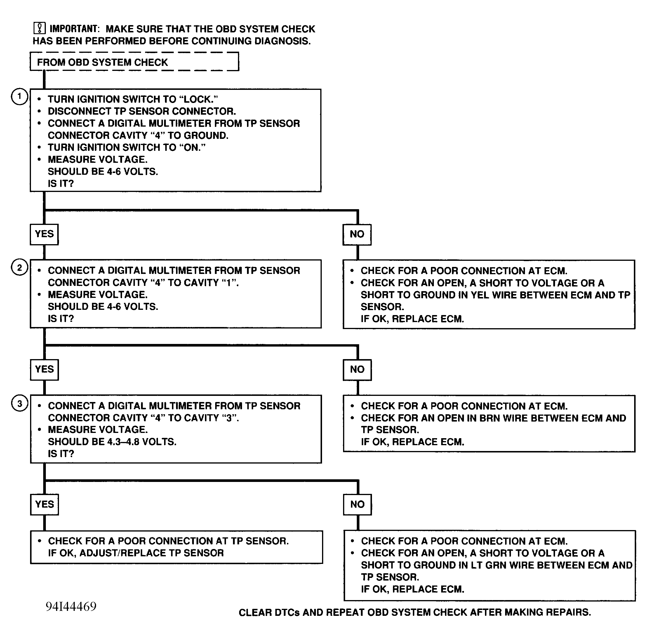
Fig 2: CODE 41 - Flow Chart (Prizm) Throttle Position Sensor, Open Or Shorted Circuit
G94I44469