LEMON Manuals: Even more car manuals for everyone: 1960-2025
Home >> Honda >> 2000 >> Odyssey EX V6-3.5L >> Repair and Diagnosis >> Specifications >> Mechanical Specifications >> Engine >> Cylinder Block Assembly >> System Specifications >> Torque Specifications
April 5, 2026: LEMON Manuals is launched! Read the announcement.

Torque Specifications












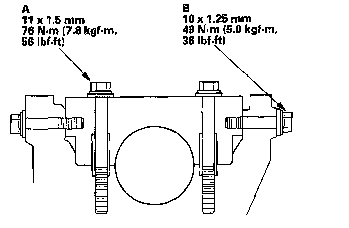
Main Bearing Cap Torque and Tightening Sequence





Connecting Rod Bolt 20 Nm (2.0 kgf.m, 14 ft. lbs.)

Crankshaft Pulley
Torque 245 Nm (25.0 kgf-m, 181 ft. lbs.)




A/T Flex Plate