LEMON Manuals: Even more car manuals for everyone: 1960-2025
Home >> Honda >> 2000 >> Prelude Base, Automatic >> Repair and Diagnosis >> Brakes >> Traction Control >> Anti-Lock >> Component Tests >> Relay Test >> Fail-Safe Relay
April 5, 2026: LEMON Manuals is launched! Read the announcement.

Fail-Safe Relay

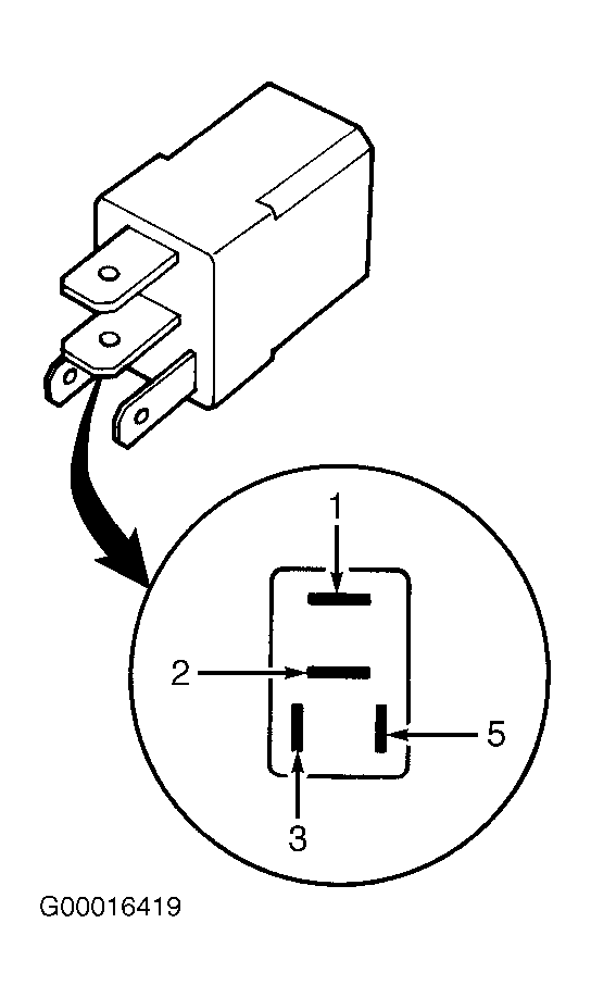
Check continuity between fail-safe relay terminals No. 3 and 5. See Fig 1 . Continuity should exist. Check continuity between fail-safe relay terminals No. 1 and 2. Continuity should not exist. Apply battery voltage across fail-safe relay terminals No. 3 and 5 and check continuity between fail-safe relay terminals No. 1 and 2. Continuity should exist. If continuity is not as indicated, replace fail-safe relay.

Fig 1: Identifying Fail-Safe Relay Terminals
G00016419Courtesy of AMERICAN HONDA MOTOR CO., INC.