LEMON Manuals: Even more car manuals for everyone: 1960-2025
Home >> Honda >> 2003 >> Odyssey V6-3.5L >> Repair and Diagnosis >> Body and Frame >> Locks >> Keyless Entry >> Keyless Entry Receiver >> Testing and Inspection
April 5, 2026: LEMON Manuals is launched! Read the announcement.

Keyless Entry Receiver: Testing and Inspection

Keyless Receiver Unit Input Test

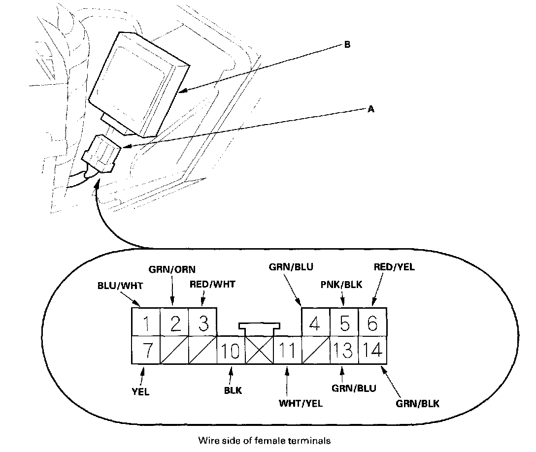
1. Remove the glove box.




2. Disconnect the 14P connector (A) from the keyless receiver unit (B).
3. Inspect the all connector and socket terminals to be sure they are all making good contact.
- If the terminals are bent, loose or corroded, repair them as necessary, and recheck the system.
- If the terminals look OK, go to step 4.





4. Make these in put tests at the connector.
- If any test indicates a problem, find and correct the cause, then recheck the system.
- If all the input tests prove OK, go to step 5.




5. Reconnect the connector to the control unit, and perform the following input tests at the keyless receiver unit connector.
- If any test indicates a problem, find and correct the cause then recheck the system.
- If all the input tests prove OK, the keyless receiver unit must be faulty, replace it.