LEMON Manuals: Even more car manuals for everyone: 1960-2025
Home >> Honda >> 2003 >> Odyssey V6-3.5L >> Repair and Diagnosis >> Specifications >> Mechanical Specifications >> Engine >> Cylinder Block Assembly >> System Specifications >> Torque Specifications
April 5, 2026: LEMON Manuals is launched! Read the announcement.

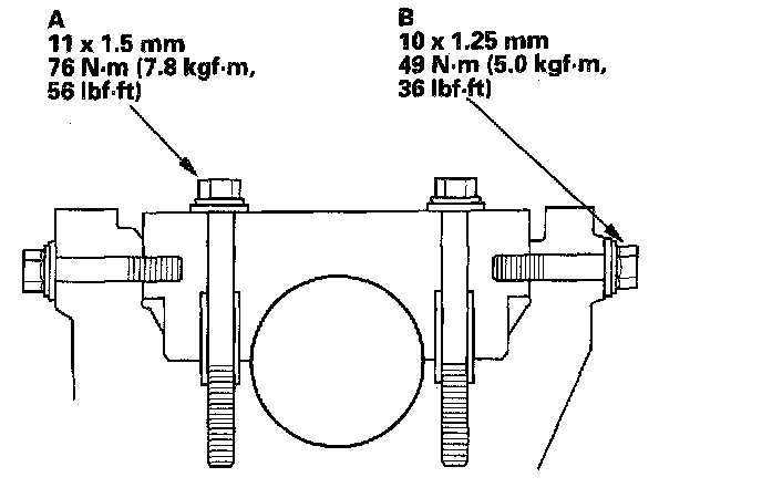
Torque Specifications












Main Bearing Cap Torque and Tightening Sequence





Connecting Rod Bolt 20 Nm (2.0 kgf.m, 14 ft. lbs.)

Crankshaft Pulley
Torque 245 Nm (25.0 kgf-m, 181 ft. lbs.)




A/T Flex Plate