LEMON Manuals: Even more car manuals for everyone: 1960-2025
Home >> Honda >> 2005 >> Odyssey V6-3.5L >> Repair and Diagnosis >> Accessories and Optional Equipment >> Memory Positioning Systems >> Testing and Inspection >> Component Tests and General Diagnostics >> Component Tests >> Driving Position Memory Switch Test
April 5, 2026: LEMON Manuals is launched! Read the announcement.

Driving Position Memory Switch Test

Driving Position Memory Switch Test/Replacement

1. Remove the driver's door panel.




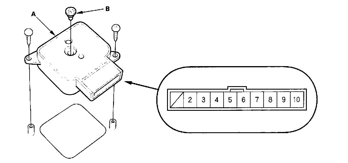
2. Disconnect the 10P connector from the memory switch (A).
3. Remove the two screws, then remove the switch from the door panel.




4. Check for continuity between the terminals in each switch position according to the table.
5. If the continuity is not as specified, replace the illumination bulb (B) or the switch.