LEMON Manuals: Even more car manuals for everyone: 1960-2025
Home >> Honda >> 2007 >> Element 2WD L4-2.4L >> Repair and Diagnosis >> Specifications >> Mechanical Specifications >> Engine >> System Specifications >> Service Specifications
April 5, 2026: LEMON Manuals is launched! Read the announcement.

Service Specifications

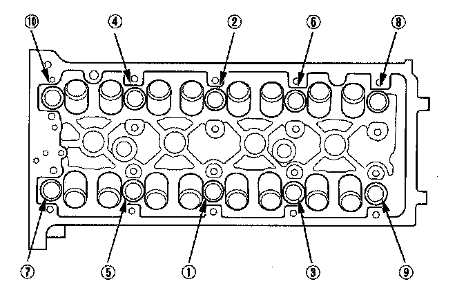
Cylinder Head
Measure the diameter of each cylinder head bolt at point A and point B.





If either diameter is less than 10.6 mm (0.42 in.), replace the cylinder head bolt.

Tighten the cylinder head bolts 39 Nm (4.0 kgf-m, 29 lbf-ft)





After torqueing, tighten all cylinder head bolts in two steps (90° per step) using a torque angle gauge. If you are using a new cylinder head bolt, tighten the bolt an extra 90°.


Intake Manifold
Install the intake manifold (A) with a new gasket (B), and tighten the bolts/nuts in a crisscross pattern in two or three steps, beginning with the inner bolt.





Rocker Arm/Camshaft Holder Assembly

Tighten the bolts in sequence to the specified torque.

NOTE: If the engine does not have bolt (21), skip it and continue the torque sequence.





Main Bearing Cap
Tighten the bearing cap bolts in sequence 29 Nm (3.0 kgf-m, 22 lbf-ft).





Tighten the bearing cap bolts an additional 56°.





Tighten the 8 mm bolts in sequence 22 Nm (2.2 kgf-m, 16 lbf-ft).





Rod Cap
Tightening Torque 20 Nm (2.0 kgf-m, 14 lbf-ft) + an additional 90°.


Crankshaft Pulley
Tightening Torque 49 Nm (5.0 kgf-m, 36 lbf-ft) + an additional 90°


Oil Pump






Exhaust Manifold





Tighten the bolts/nuts in a crisscross pattern in two or three steps, beginning with the inner bolt.


Water Pump






Drive Plate





Tighten the eight bolts in a crisscross pattern in two or more steps.


Flywheel

Install the special tool (A), then torque the flywheel mounting bolts (B) in a crisscross pattern in several steps.