LEMON Manuals: Even more car manuals for everyone: 1960-2025
Home >> Honda >> 2007 >> Element SC, Automatic >> Repair and Diagnosis >> Accessories & Equipment >> Infotainment >> Navigation System >> System Description >> Overview >> System Diagram
April 5, 2026: LEMON Manuals is launched! Read the announcement.

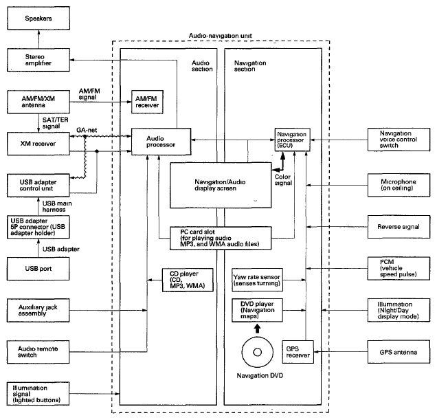
System Diagram

Fig 1: Navigation System Diagram
G08049601Courtesy of AMERICAN HONDA MOTOR CO., INC.