LEMON Manuals: Even more car manuals for everyone: 1960-2025
Home >> Honda >> 2007 >> Element SC, Automatic >> Repair and Diagnosis >> Engine Mechanical >> Mechanical >> Engine Block >> Piston Ring Replacement
April 5, 2026: LEMON Manuals is launched! Read the announcement.

Piston Ring Replacement

  1. Remove the piston from the engine block (see CRANKSHAFT AND PISTON REMOVAL  ).
  2. Using a ring expander (A), remove the old piston rings (B).
    Fig 1: Using Ring Expander To Remove Piston Rings
    G05448722Courtesy of AMERICAN HONDA MOTOR CO., INC.
  3. Clean all ring grooves thoroughly with a squared-off broken ring or ring groove cleaner with a blade to fit the piston grooves. The top and 2nd ring grooves are 1.2 mm (0.05 in.) wide. The oil ring groove is 2.0 mm (0.08 in.) wide. File down a blade if necessary. Do not use a wire brush to clean the ring grooves, or cut the ring grooves deeper with the cleaning tools.
    NOTE: If the piston is to be separated from the connecting rod, do not install new rings yet.
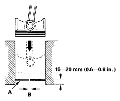
  4. Using a piston that has its rings removed, push a new ring (A) into the cylinder bore 15-20 mm (0.6 -0.8 in.) from the bottom.
    Fig 2: Pushing Ring Into Cylinder Bore
    G05448723Courtesy of AMERICAN HONDA MOTOR CO., INC.
  5. Measure the piston ring end-gap (B) with a feeler gauge:
    • If the gap is too small, check to see if you have the proper rings for your engine.
    • If the gap is too large, recheck the cylinder bore diameter against the wear limits (see BLOCK AND PISTON INSPECTION  ). If the bore is beyond the service limit, the engine block must be rebored.

    Piston Ring End-Gap 

    Top Ring: 

    Standard (New) 0.20-0.35 mm (0.008-0.014 in.) 

    Service Limit: 0.60 mm (0.024 in.) 

    Second Ring: 

    Standard (New): 0.40-0.55 mm (0.016-0.022 in.) 

    Service Limit: 0.70 mm (0.028 in.) 

    Oil Ring: 

    Standard (New): 0.20-0.50 mm (0.008-0.020 in.) 

    Service Limit: 0.80 mm (0.031 in.) 

  6. Install the top ring and second ring as shown. The top ring (A) has a 1Z mark and the second ring (B) has a 2R mark. The manufacturing marks (C) must be facing upward.
    Fig 3: Identifying Top Ring & Second Ring
    G05448724Courtesy of AMERICAN HONDA MOTOR CO., INC.
  7. After installing a new set of rings, measure the ring-to-groove clearances:

    Top Ring Clearance 

    Standard (New): 0.050-0.075 mm (0.0020-0.0030 in.) 

    Service Limit: 0.13 mm (0.005 in.) 

    Second Ring Clearance 

    Standard (New): 0.050-0.075 mm (0.0020-0.0030 in.) 

    Service Limit: 0.13 mm (0.005 in.) 

    Fig 4: Measuring Ring-To-Groove Clearances
    G05448726Courtesy of AMERICAN HONDA MOTOR CO., INC.
  8. Rotate the rings in their grooves to make sure they do not bind.
  9. Position the ring end gaps as shown below:
    Fig 5: Positioning Ring End Gaps
    G05448725Courtesy of AMERICAN HONDA MOTOR CO., INC.