LEMON Manuals: Even more car manuals for everyone: 1960-2025
Home >> Honda >> 2007 >> Fit Base, Automatic >> Repair and Diagnosis >> Transmission >> Automatic Trans >> Automatic Transmission >> System Description >> Electronic Control System >> Lock-up Control
April 5, 2026: LEMON Manuals is launched! Read the announcement.

Lock-up Control

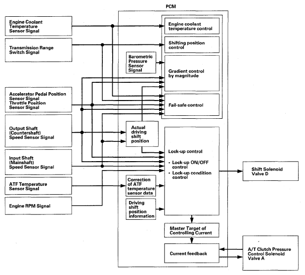
Shift solenoid valve D controls the hydraulic pressure to switch the lock-up shift valve and lock-up ON and OFF. The PCM turns shift solenoid valve D and A/T clutch pressure control solenoid valve A ON, and lock-up starts. A/T clutch pressure control solenoid valve A regulates and applies hydraulic pressure to the lock-up control valve to control the amount of lock-up.

The lock-up mechanism operates in ail five gears.

Fig 1: Lock-Up Control - System Diagram
G05455140