LEMON Manuals: Even more car manuals for everyone: 1960-2025
Home >> Honda >> 2007 >> Fit Base, Automatic >> Repair and Diagnosis >> Transmission >> Automatic Trans >> Automatic Transmission >> System Description >> Electronic Control System >> Shift Control - Grade Logic Control
April 5, 2026: LEMON Manuals is launched! Read the announcement.

Shift Control - Grade Logic Control

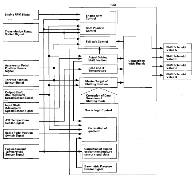
The grade logic control system is used to control shifting in D, D3 (seven-position transmission), and S with automatic shift mode (five-position transmission). To control shifting while the vehicle is ascending or descending a slope, the PCM compares actual driving conditions with memorized driving conditions, based on the input from the accelerator pedal position sensor, the throttle position sensor, the engine coolant temperature sensor, the barometric pressure sensor, the brake pedal position switch signal, and the shift lever position signal.

Fig 1: Shift Control - Grade Logic Control System Block Diagram
G05455134