LEMON Manuals: Even more car manuals for everyone: 1960-2025
Home >> Honda >> 2007 >> Pilot EX, 3.5 YF2 >> Repair and Diagnosis >> Engine Performance >> System >> PCV System >> PCV Valve Replacement
April 5, 2026: LEMON Manuals is launched! Read the announcement.

PCV Valve Replacement

  1. Remove the ignition cover.
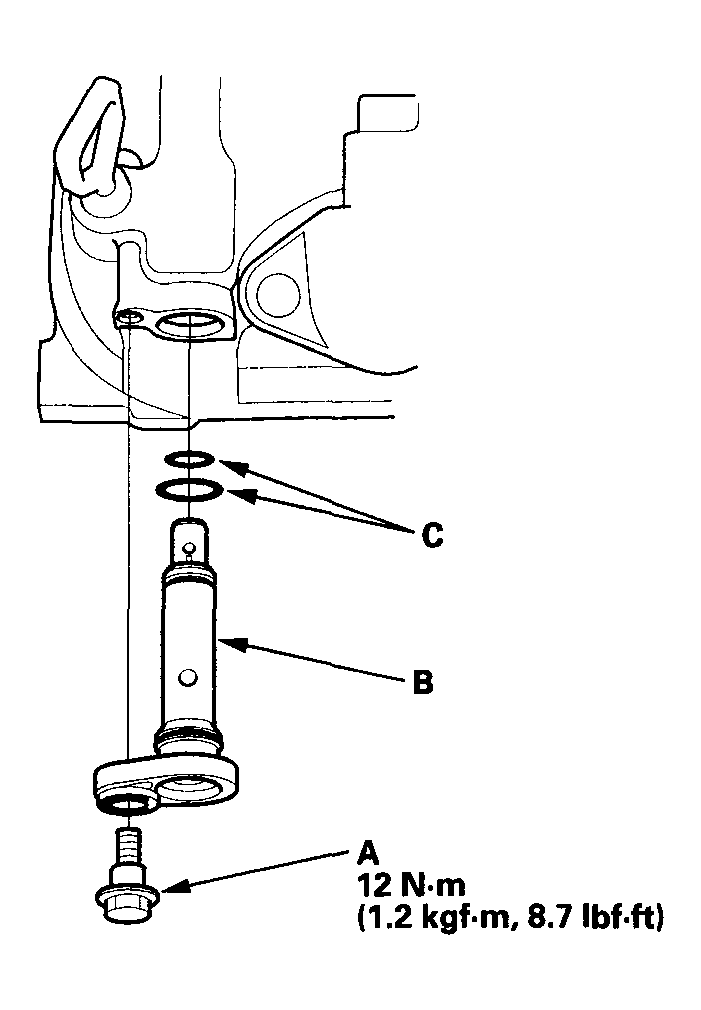
  2. Disconnect the bolt (A).
    NOTE: Take care not to spill oil on the hot exhaust manifold.
    Fig 1: Removing PCV Valve
    G04245561Courtesy of AMERICAN HONDA MOTOR CO., INC.
  3. Remove the PCV valve (B).
  4. Install the valve in the reverse order of removal.
    NOTE:
    • When installing a new PCV valve, make sure the O-rings (C) are in place.
    • When installing a used PCV valve, use new O-rings.