LEMON Manuals: Even more car manuals for everyone: 1960-2025
Home >> Honda >> 2007 >> Ridgeline RT >> Repair and Diagnosis >> Electrical >> Body Electrical >> Fuse/Relay Boxes >> Connector to Fuse/Relay Box Index
April 5, 2026: LEMON Manuals is launched! Read the announcement.

Connector to Fuse/Relay Box Index

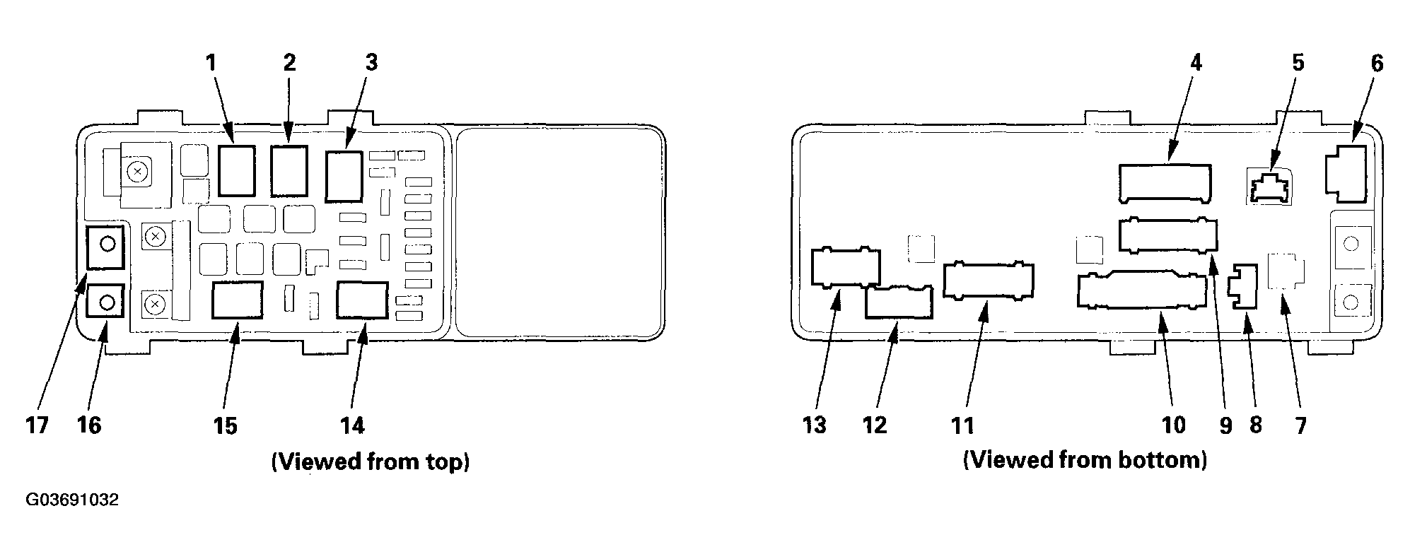
Underhood Fuse/Relay Box 

UNDER-HOOD FUSE/RELAY BOX CHART

Socket Ref Terminal Connects to
A (ELD unit) 5 3 Right engine compartment wire harness (see RIGHT ENGINE COMPARTMENT WIRE HARNESS )
A/C compressor clutch relay 2 4  
B 7 1 Right engine compartment wire harness (see RIGHT ENGINE COMPARTMENT WIRE HARNESS )
Blower motor relay 1 4  
C 8 2 Right engine compartment wire harness (see RIGHT ENGINE COMPARTMENT WIRE HARNESS )
D 4 9 Right engine compartment wire harness (see RIGHT ENGINE COMPARTMENT WIRE HARNESS )
E 9 16 Right engine compartment wire harness (see RIGHT ENGINE COMPARTMENT WIRE HARNESS )
ETCS relay 15 4  
F 10 20 Right engine compartment wire harness (see RIGHT ENGINE COMPARTMENT WIRE HARNESS )
G 6 2 Right engine compartment wire harness (see RIGHT ENGINE COMPARTMENT WIRE HARNESS )
H 11 18 Right engine compartment wire harness (see RIGHT ENGINE COMPARTMENT WIRE HARNESS )
Heated windshield wiper area relay 3 4  
J 13 10 Right engine compartment wire harness (see RIGHT ENGINE COMPARTMENT WIRE HARNESS )
K 12 5 Right engine compartment wire harness (see RIGHT ENGINE COMPARTMENT WIRE HARNESS )
Seat heater relay 14 4  
T1 16   Starter cable (see STARTER CABLE )
T101 17   Alternator +B cable (see STARTER CABLE )
Fig 1: Identifying Connector And Under-Hood Fuse/Relay Location
G03691032Courtesy of AMERICAN HONDA MOTOR CO., INC.

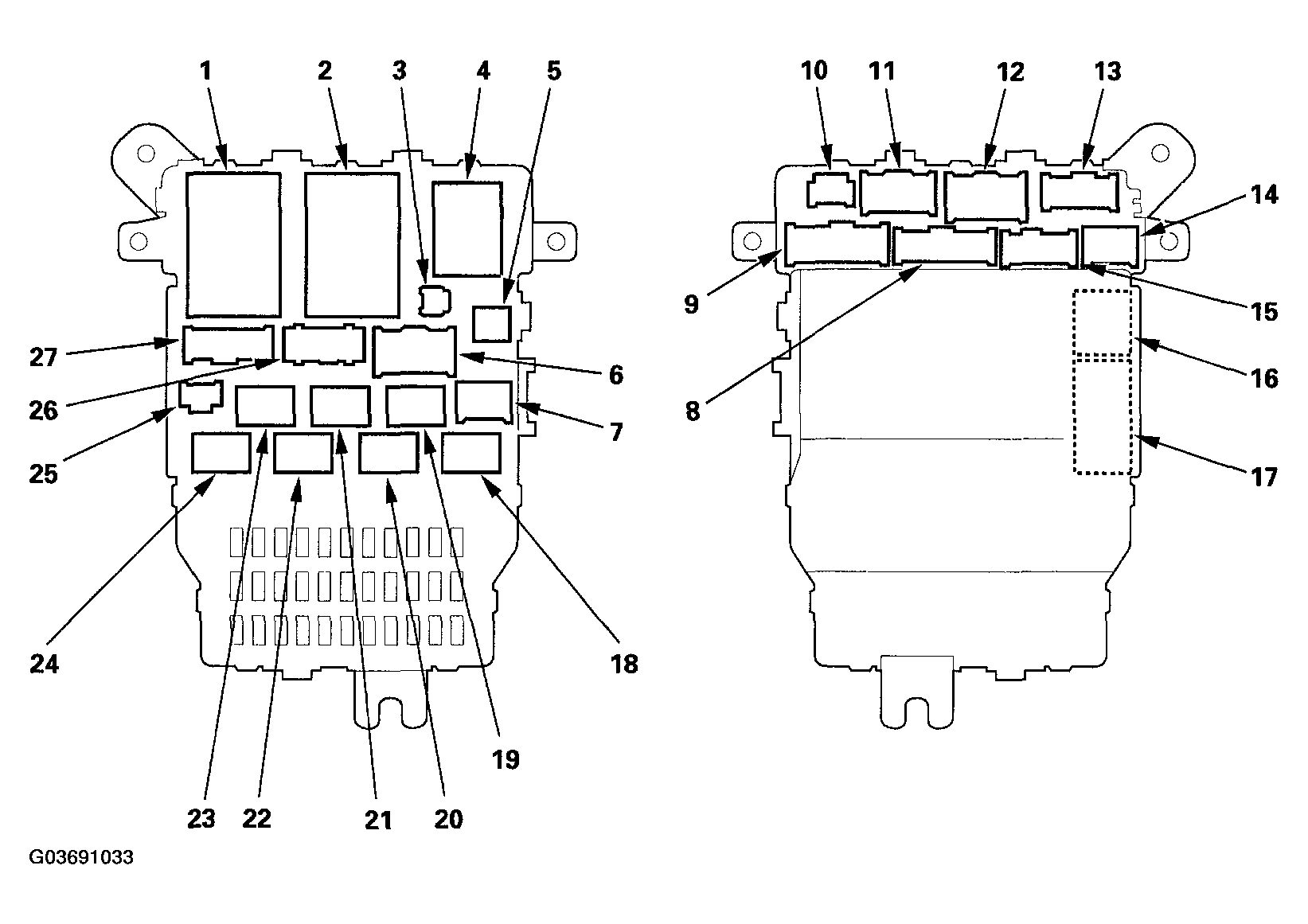
Underdash Fuse/Relay Box 

UNDER-DASH FUSE/RELAY BOX CHART

Socket Ref Terminal Connects to
A 6 6 Ignition switch harness (see IGNITION SWITCH HARNESS )
A/F sensor relay 20 4  
B 12 6 Right engine compartment wire harness (see RIGHT ENGINE COMPARTMENT WIRE HARNESS )
C 11 12 Right engine compartment wire harness (see RIGHT ENGINE COMPARTMENT WIRE HARNESS )
D 13 17 Right engine compartment wire harness (see RIGHT ENGINE COMPARTMENT WIRE HARNESS )
E 8 16 Floor wire harness (see FLOOR WIRE HARNESS (LEFT BRANCH) )
F 9 14 Floor wire harness (see FLOOR WIRE HARNESS (LEFT BRANCH) )
G 14 6 Floor wire harness (see FLOOR WIRE HARNESS (LEFT BRANCH) )
H 15 14 Floor wire harness (see FLOOR WIRE HARNESS (LEFT BRANCH) )
Ignition coil relay 23 4  
J 27 21 Driver's door subharness (see DRIVER'S DOOR WIRE HARNESS (USA: RTS AND RTL, CANADA: EXL) )
K 26 12 Driver's door subharness (see DRIVER'S DOOR WIRE HARNESS (USA: RTS AND RTL, CANADA: EXL) )
M 25 3 MICS service check connector
N 2 45 Dashboard wire harness (see DASHBOARD WIRE HARNESS (LEFT BRANCH) )
P(MICU) 17 30 Dashboard wire harness (see DASHBOARD WIRE HARNESS (LEFT BRANCH) )
PGM-FI main relay 1 21 4  
PGM-FI main relay 2 (fuel pump) 24 4  
Power window relay 22 4  
Q(MICU) 16 14 Floor wire harness (see FLOOR WIRE HARNESS (LEFT BRANCH) )
R (MES connector) 3 2 Dashboard wire harness (see DASHBOARD WIRE HARNESS (LEFT BRANCH) )
Rear accessory power socket relay 19 4  
S 5 2 Dashboard wire harness (see DASHBOARD WIRE HARNESS (LEFT BRANCH) )
Starter cut relay 18 4  
T 7 6 Optional connector
Turn signal/hazard relay 4 6  
W 10 5 Roof wire harness (see ROOF WIRE HARNESS )
X 1 39 Dashboard wire harness (see DASHBOARD WIRE HARNESS (LEFT BRANCH) )
Fig 2: Identifying Connector And Under-Dash Fuse/Relay Location
G03691033Courtesy of AMERICAN HONDA MOTOR CO., INC.

Auxiliary Underhood Relay box 

AUXILIARY UNDER-HOOD RELAY BOX CHART

Socket Ref Terminal Connects to
A/C condenser fan relay 3 5 Right engine compartment (see RIGHT ENGINE COMPARTMENT WIRE HARNESS )
Fan control relay 1 5 Right engine compartment (see RIGHT ENGINE COMPARTMENT WIRE HARNESS )
Radiator fan relay 2 4 Right engine compartment (see RIGHT ENGINE COMPARTMENT WIRE HARNESS )
Fig 3: Identifying Connector And Auxiliary Under-Hood Relay Location
G03691034Courtesy of AMERICAN HONDA MOTOR CO., INC.

Auxiliary Underhood fuse Box 

AUXILIARY UNDER-HOOD FUSE BOX CHART

Socket Ref Terminal Connects to
T5 1 - Starter cable (see STARTER CABLE )
Fig 4: Identifying Connector And Auxiliary Under-Hood Fuse Box Location
G03691035Courtesy of AMERICAN HONDA MOTOR CO., INC.