LEMON Manuals: Even more car manuals for everyone: 1960-2025
Home >> Honda >> 2008 >> Element 2WD L4-2.4L >> Repair and Diagnosis >> Specifications >> Mechanical Specifications >> Engine >> Timing Components >> System Specifications
April 5, 2026: LEMON Manuals is launched! Read the announcement.

System Specifications

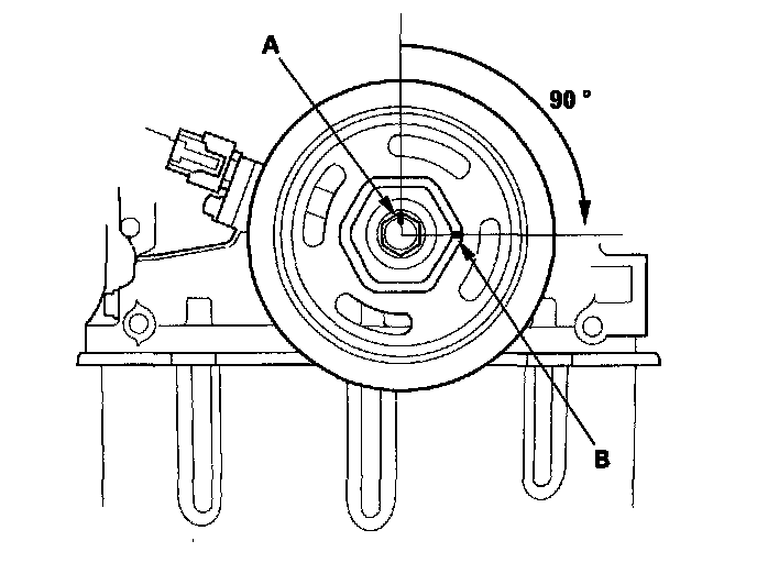
Timing Chain Tensioner






Crankshaft Pulley

Torque 50 Nm (5.0 kgf-m, 37 lbf-ft)





Tighten additional 90°


Timing Cover