LEMON Manuals: Even more car manuals for everyone: 1960-2025
Home >> Honda >> 2009 >> Element SC, Automatic >> Repair and Diagnosis (Single Page) >> Accessories & Equipment >> Infotainment >> Audio System >> System Description >> Audio Unit Connector For Inputs and Outputs >> Without Navigation (LX Model)
April 5, 2026: LEMON Manuals is launched! Read the announcement.

Without Navigation (LX Model)

Fig 1: Identifying AM/FM Sublead Jack & Audio Unit Connector A (20P)
G00487461Courtesy of AMERICAN HONDA MOTOR CO., INC.

AUDIO UNIT CONNECTOR A (20P) 

Fig 2: Identifying Audio Unit Connector A (20P)
G00487463Courtesy of AMERICAN HONDA MOTOR CO., INC.
AUDIO UNIT CONNECTOR A (20P) TABLE

Cavity Wire Color Terminal Name Connect to
A1 YEL/GRN SWD+B AM/FM antenna
A2 YEL/RED ACC No. 8 (7.5 A) fuse in the under-dash fuse/relay box
A5 PNK RR + Right rear door speaker
A6 BLU/WHT RL + Left rear door speaker
A7 GRN/YEL FR + Front passenger's door speaker
A8 GRN/BLK FL + Driver's door speaker
A9 RED/BLK ILLUMI+ No. 2 (15 A) fuse in the under-hood fuse/relay box
A10 WHT/RED +B No. 9 (10 A) fuse in the under-hood fuse/relay box
A15 BLU/YEL RR - Right rear door speaker
A16 BLU/BLK RL - Left rear door speaker
A17 BLU/YEL FR - Front passenger's door speaker
A18 GRN FL - Driver's door speaker
A19 RED ILLUMI CONTROL Dash lights brightness controller (in the gauge control module)
A20 BLK MAIN GND Body ground to G503

AUDIO UNIT CONNECTOR E (3P) 

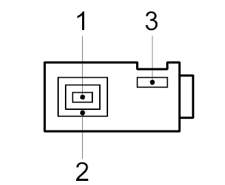
Fig 3: Identifying Audio Unit Connector E (14P)
G00487467Courtesy of AMERICAN HONDA MOTOR CO., INC.
AUDIO UNIT CONNECTOR E (3P) TABLE

Cavity Wire Terminal Name Connect to
E1 - RF IN AM/FM antenna
E2 - RF SH Shielded for terminal No. 1
E3 - ANT+B AM/FM antenna