LEMON Manuals: Even more car manuals for everyone: 1960-2025
Home >> Honda >> 2009 >> Element SC, Standard >> Repair and Diagnosis >> External Pages >> Different car >> Section 109 (Audio System) >> System Description >> Anti-Theft Feature >> System Diagram >> Without navigation (with USB adapter)
April 5, 2026: LEMON Manuals is launched! Read the announcement.

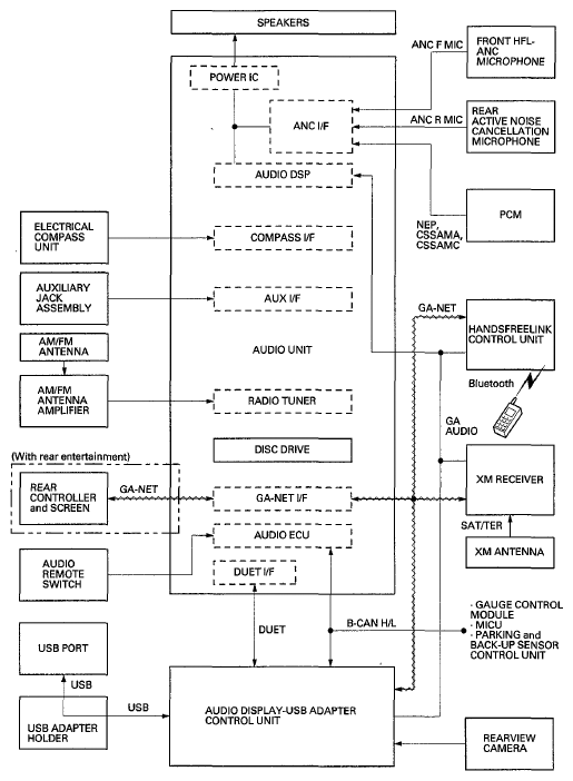
Without navigation (with USB adapter)

WARNING: This page does not describe the selected car, but rather 7 other vehicles, including the 2017 Honda Odyssey, 2016 Honda Odyssey, 2015 Honda Odyssey, 2014 Honda Odyssey, and 2013 Honda Odyssey. However, it is still accessible from the selected car via links, so may be relevant.
Fig 1: Audio System Diagram - Without Navigation (With USB Adapter)
G06970628Courtesy of AMERICAN HONDA MOTOR CO., INC.