LEMON Manuals: Even more car manuals for everyone: 1960-2025
Home >> Honda >> 2009 >> Ridgeline V6-3.5L >> Repair and Diagnosis >> Accessories and Optional Equipment >> Navigation System >> Testing and Inspection >> Component Tests and General Diagnostics >> Navigation System Voice Control Switch Test (With Navigation)
April 5, 2026: LEMON Manuals is launched! Read the announcement.

Navigation System Voice Control Switch Test (With Navigation)




Navigation System Voice Control Switch Test

1. Remove the steering wheel. Steering Wheel Removal

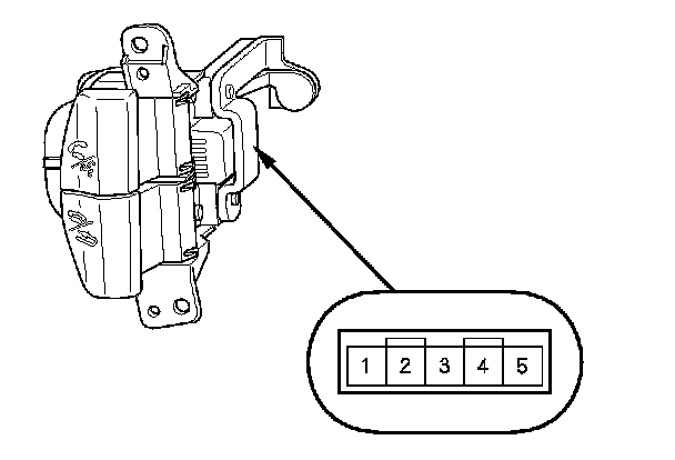
2. Remove the voice control switch. Overhaul

3. Measure the resistance between the terminals No. 2 and No. 4 in each switch position according to the table.





4. If the resistance is not as specified, replace the voice control switch.






5. Use a diode tester between the terminals in each switch position according to the table.

6. If the diode test is bad, replace the switch.