LEMON Manuals: Even more car manuals for everyone: 1960-2025
Home >> Honda >> 2011 >> Accord L4-2.4L >> Repair and Diagnosis >> Heating and Air Conditioning >> Control Assembly >> Service and Repair >> Climate Control Switch Bulb Replacement (With Navigation)
April 5, 2026: LEMON Manuals is launched! Read the announcement.

Climate Control Switch Bulb Replacement (With Navigation)




Climate Control Switch Bulb Replacement

1. Remove the driver's climate control switch Climate Control Switch Removal/Installation.

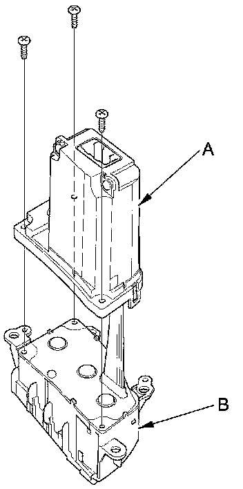
2. Remove the screws and cover (A) from the driver's climate control switch (B).






3. Remove the bulb(s) (A) with a flat-tip screwdriver.





4. Install the bulb(s) in the reverse order of removal. After installation, operate the various functions to see whether it works properly.