LEMON Manuals: Even more car manuals for everyone: 1960-2025
Home >> Honda >> 2012 >> Civic L4-1.8L >> Repair and Diagnosis >> Specifications >> Fluid Type Specifications >> Fluids
April 5, 2026: LEMON Manuals is launched! Read the announcement.

Fluids






Lubricants and Fluids









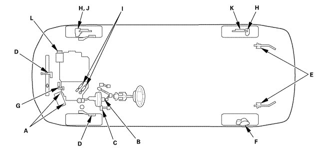
For the details of the lubrication points and the type of lubricants to be applied, refer to the illustrated index and the various work procedures (such as Assembly/Reassembly, Replacement, Overhaul, Installation, etc.) contained in each section.






NOTE:
* The illustration shows the 4-door.
* Lubricate the following areas using the recommended lubricants and fluids.
* In corrosive areas, more frequent lubrication is necessary.