LEMON Manuals: Even more car manuals for everyone: 1960-2025
Home >> Honda >> 2013 >> CR-Z Base, Standard Trans >> Repair and Diagnosis >> Electrical >> Body Electrical >> Fuse/Relay Boxes >> Connector to Fuse/Relay Box Index >> Under-Dash Fuse/Relay Box
April 5, 2026: LEMON Manuals is launched! Read the announcement.

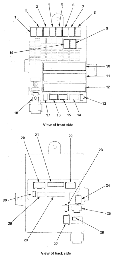
Under-Dash Fuse/Relay Box

Fig 1: Identifying Under-Dash Fuse/Relay Box
G06953823Courtesy of AMERICAN HONDA MOTOR CO., INC.
UNDER-DASH FUSE/RELAY BOX REFERENCE TERMINALS

Socket Ref Terminals Connects to
A 10 36 Right engine compartment wire harness
A/F sensor relay 3 4  
B 11 36 Left engine compartment wire harness (see LEFT ENGINE COMPARTMENT WIRE HARNESS (BF) )
Blower motor relay 2 4  
D 12 49 Driver's side wire harness
Electronic throttle control system (ETCS) control relay 7 4  
F 17 12 Driver's door wire harness (see DRIVER'S DOOR WIRE HARNESS (DA) )
G 16 6 Driver's door wire harness (see DRIVER'S DOOR WIRE HARNESS (DA) )
H 16 8 Roof wire harness (see ROOF WIRE HARNESS (BK) )
Ignition coil relay 5 4  
J (optional connector) 14 8 Not used
Lighting relay 1 4 4  
Lighting relay 2 19 4  
M (MICU service check connector) 13 3  
N 20 10 Dashboard wire harness (see DASHBOARD WIRE HARNESS (VIEW OF DRIVER'S SIDE) (BD) )
PGM-FI main relay 1 (Fl MAIN) 6 4  
Power window relay (P/W) 1 4  
Q 21 34 Dashboard wire harness (see DASHBOARD WIRE HARNESS (VIEW OF DRIVER'S SIDE) (BD) )
R 22 8 Dashboard wire harness (see DASHBOARD WIRE HARNESS (VIEW OF DRIVER'S SIDE) (BD) )
Rear window defogger relay 8 4  
Starter cut relay (ST CUT) 9 4  
T (SRS) 30 4 Dashboard wire harness (see DASHBOARD WIRE HARNESS (VIEW OF DRIVER'S SIDE) (BD) )
Y 29 16 Dashboard wire harness (see DASHBOARD WIRE HARNESS (VIEW OF DRIVER'S SIDE) (BD) )
AA 28 28 Dashboard wire harness (see DASHBOARD WIRE HARNESS (VIEW OF DRIVER'S SIDE) (BD) )
AB 24 3 Dashboard wire harness (see DASHBOARD WIRE HARNESS (VIEW OF DRIVER'S SIDE) (BD) )
AC 25 2 Dashboard wire harness (see DASHBOARD WIRE HARNESS (VIEW OF DRIVER'S SIDE) (BD) )
AD 23 1 Dashboard wire harness (see DASHBOARD WIRE HARNESS (VIEW OF DRIVER'S SIDE) (BD) )
AE 27 3 Dashboard wire harness (see DASHBOARD WIRE HARNESS (VIEW OF DRIVER'S SIDE) (BD) )
AF (Electrical load detector) 26 3 Dashboard wire harness (see DASHBOARD WIRE HARNESS (VIEW OF DRIVER'S SIDE) (BD) )
T9 18 -- Left engine compartment wire harness