LEMON Manuals: Even more car manuals for everyone: 1960-2025
Home >> Hummer >> 2008 >> H2 4D Utility Pickup >> Repair and Diagnosis (Single Page) >> Quick Lookups >> Electrical Component Locations >> Component Locations & Connector End Views >> Component Connector End Views >> Electronic Brake Control Module (EBCM) X2
April 5, 2026: LEMON Manuals is launched! Read the announcement.

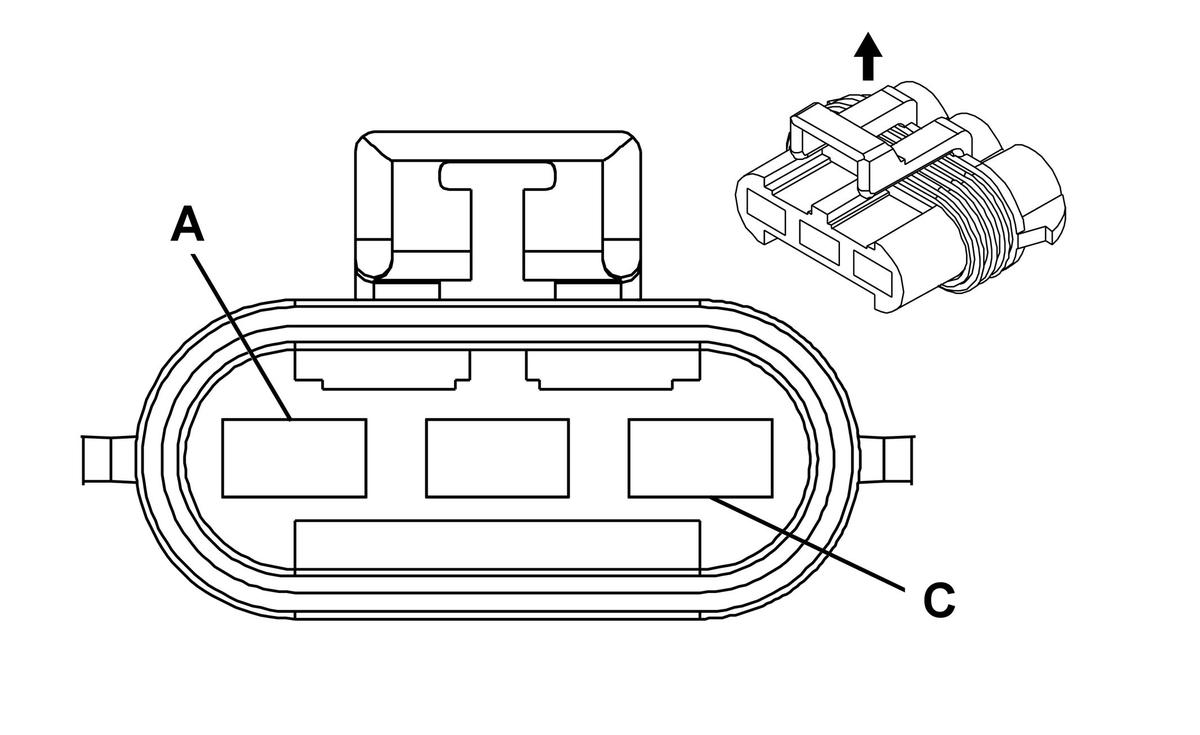
Electronic Brake Control Module (EBCM) X2

Fig 1: Electronic Brake Control Module (EBCM) X2 Connector End View
GM668832Courtesy of GENERAL MOTORS CORP.
Connector Part Information 
  • OEM: 12124685
  • Service: See Catalog
  • Description: 3-Way F Metri-Pack 630 Series, Sealed (BK)
Terminal Part Information 
  • Pins: A, C, B
  • Terminal/Tray: 15305232/23
  • Core/Insulation Crimp: Pins A, C - B/3
  • Core/Insulation Crimp: Pins B - B/4/3
  • Release Tool/Test Probe: 12094430/J-35616-42 (RD)
Pin Wire Circuit Function
A 5 RD/BK 1742 Battery Positive Voltage
B 0.5 PK 439 Ignition 1 Voltage
C 5 BK 2150 Ground