LEMON Manuals: Even more car manuals for everyone: 1960-2025
Home >> Hummer >> 2009 >> H2 V8-6.2L >> Repair and Diagnosis >> Diagrams >> Components >> Instrument Panel/Center Console Component Views
April 5, 2026: LEMON Manuals is launched! Read the announcement.

Instrument Panel/Center Console Component Views




Instrument Panel/Center Console Component Views

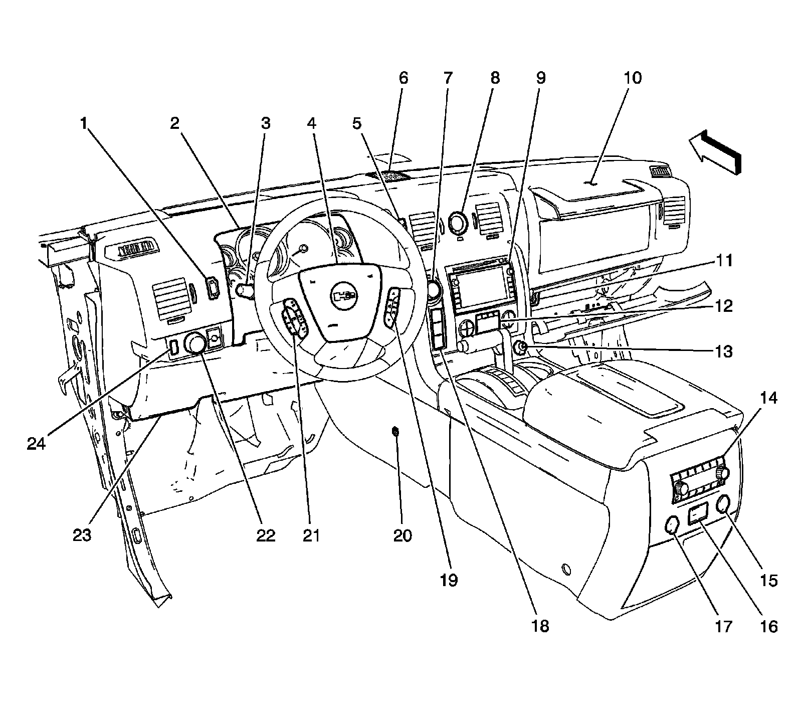
Instrument Panel and Console Overview




1 - Window Wiper/Washer Switch - Rear (SUV) or Window Switch - Midgate(SUT)
2 - Instrument Panel Cluster (IPC)
3 - Turn Signal/Multifunction Switch
4 - Inflatable Restraint Steering Wheel Module
5 - Ambient Light/Sunload Sensor Assembly
6 - Transfer Case Shift Control Switch
7 - Clock
8 - Radio
9 - Inflatable Restraint I/P Module
10 - Inflatable Restraint I/P Module Disable Switch
11 - Accessory Power Outlet - Front
12 - Rear Seat Audio (RSA) Control
13 - Accessory Power Outlet - Center Console 1
14 - Audio/Video Adapter (U42)
15 - Accessory Power Outlet - Center Console 2
16 - MultiFunction Switch - I/P
17 - Steering Wheel Control Switch Assembly - Right
18 - Noise Compensation Microphone (UVB without UE1)
19 - Steering Wheel Control Switch Assembly - Left
20 - Headlamp and Panel Dimmer Switch
21 - Data Link Connector (DLC)
22 - Window Switch - Global

Lower Left of the I/P




1 - Accelerator Pedal Position (APP) Sensor
2 - Accelerator Pedal Position (APP) Sensor Connector

Below the Left of the I/P Components




1 - Park Brake Release
2 - Park Brake Switch
3 - Dash Panel
4 - Park Brake Lever

Stop Lamp Switch




1 - Vacuum Booster
2 - Brake Pedal
3 - Stop Lamp Switch
4 - Accelerator Pedal
5 - Stop Lamp Switch Retainer
6 - Dash Panel

Instrument Panel Harness Components




1 - Digital Radio Receiver (U2K)
2 - Junction Block - Right I/P
3 - Speaker - Center
4 - Vehicle Communication Interface Module (VCIM) (UE1)
5 - Remote Control Door Lock Receiver (RCDLR)
6 - Transfer Case Shift Control Module
7 - Fuse Block - I/P
8 - Body Control Module (BCM)
9 - Junction Block - Left I/P

HVAC Module




1 - Recirculation Actuator
2 - Air Temperature Sensor - Upper Right
3 - Air Temperature Sensor - Upper Left
4 - Air Temperature Sensor - Lower Left
5 - Mode Actuator
6 - Blower Motor
7 - Blower Motor Control Module
8 - Air Temperature Actuator - Left
9 - Air Temperature Sensor - Lower Right
10 - Air Temperature Actuator - Right

Steering Column Components




1 - Inflatable Restraint Steering Wheel Module Coil
2 - Steering Angle Sensor
3 - Ignition Lock Cylinder Control Solenoid
4 - Ignition Key Cylinder
5 - Theft Deterrent Module (TDM)
6 - Ignition Switch

Floor Console Components




1 - Center Console Compartment Lamp Switch
2 - Accessory Power Outlet-Center Console Compartment
3 - PRNDL Lamp 1 and PRNDL Lamp 2
4 - X334
5 - Center Console Compartment Lamp
6 - Automatic Transmission Shift Lock Control Solenoid

Floor Console Components




1 - Center Console Compartment Lamp Switch
2 - Accessory Power Outlet-Center Console Compartment
3 - PRNDL Lamp 1 and PRNDL Lamp 2
4 - X334
5 - Center Console Compartment Lamp
6 - Automatic Transmission Shift Lock Control Solenoid

Floor Console Components




1 - Center Console Compartment Lamp Switch
2 - Accessory Power Outlet-Center Console Compartment
3 - PRNDL Lamp 1 and PRNDL Lamp 2
4 - X334
5 - Center Console Compartment Lamp
6 - Automatic Transmission Shift Lock Control Solenoid