LEMON Manuals: Even more car manuals for everyone: 1960-2025
Home >> Hummer >> 2009 >> H3 Alpha >> Repair and Diagnosis >> Brakes >> Traction Control >> Antilock Brake System >> Visual Identification >> Disassembled Views
April 5, 2026: LEMON Manuals is launched! Read the announcement.

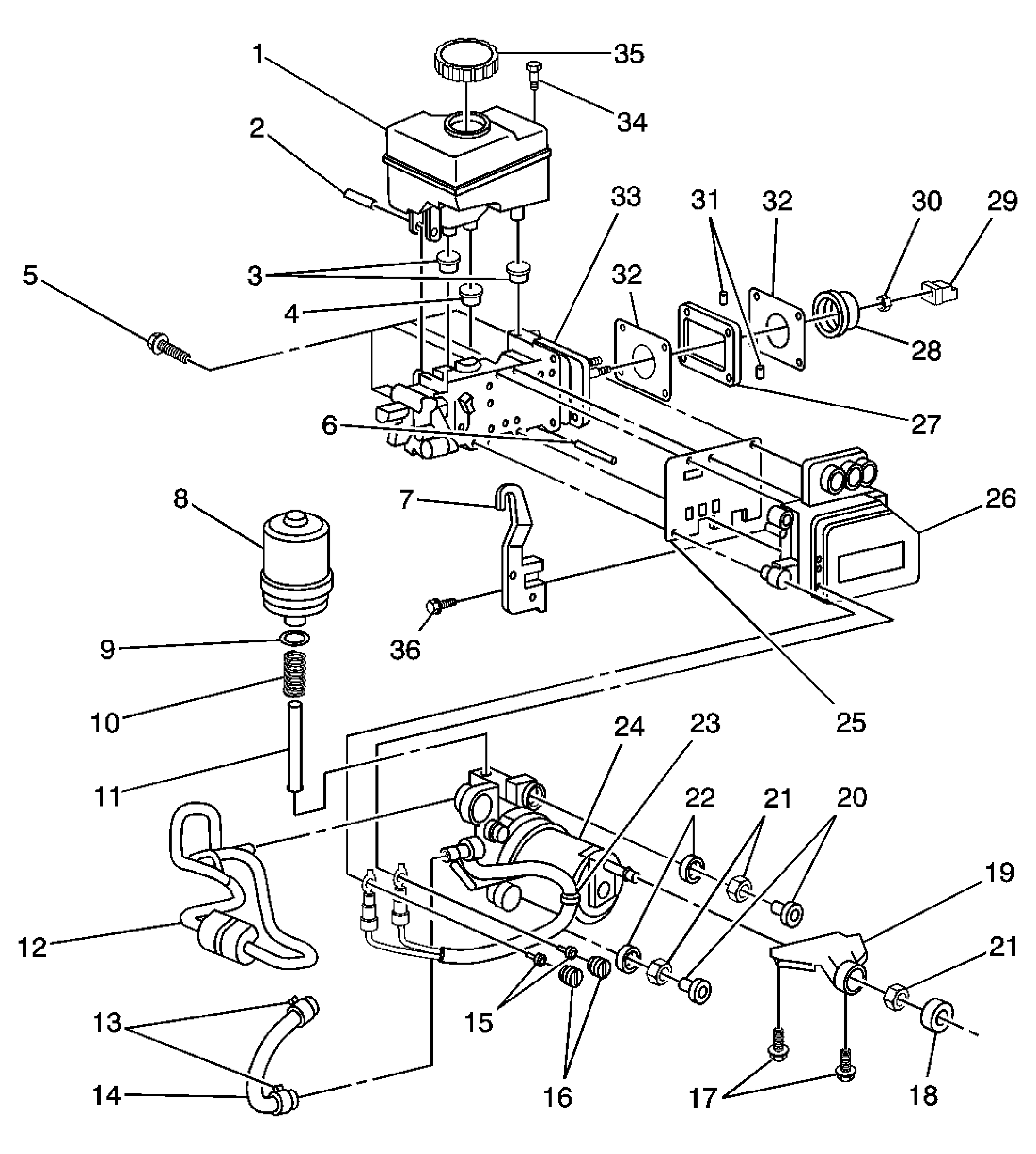
Disassembled Views

Fig 1: Antilock Brakes Disassembled View
GM1607168Courtesy of GENERAL MOTORS CORP.
Callout Component Name
1 Brake Master Cylinder Reservoir
2 Reservoir Pin
3 Brake Master Cylinder Grommet
4 Brake Master Cylinder Grommet
5 Electronic Brake and Traction Control Module Bolt
6 Electronic Brake and Traction Control Module Locator
7 Brake Fluid Level Indicator Wiring Harness Bracket
8 Power Brake Booster Pump Fluid Accumulator
9 Power Brake Booster Pump Fluid Accumulator (O-Ring) Seal
10 Power Brake Booster Pump Fluid Accumulator Fitting Spring
11 Power Brake Booster Pump Fluid Accumulator Fitting
12 Power Brake Booster Outlet Front Pipe
13 Power Brake Booster Pump Inlet Hose Clamp
14 Power Brake Booster Inlet Hose
15 Power Brake Booster Pump Harness Strap Bolt
16 Electronic Brake Control Wiring Plug
17 Power Brake Boost Pump Bracket ASM Bolt
18 Power Brake Booster Pump Damper Retainer
19 Power Brake Boost Pump Bracket
20 Power Brake Booster Pump Locator Pin
21 Power Brake Booster Pump Damper
22 Power Brake Booster Pump Damper Retainer
23 Power Brake Booster Pump Harness Strap
24 Power Brake Booster Pump ASM Motor
25 Electronic Brake and Traction Control Module ASM Gasket
26 Electronic Brake and Traction Control (w/Brake Pressure Modulator Valve) ASM Module
27 Brake Master Cylinder Spacer
28 Brake Pedal Push Rod Boot
29 Brake Pedal Push Rod Clevis
30 Brake Pedal Push Rod Clevis Nut
31 Brake Master Cylinder Spacer
32 Brake Master Cylinder Spacer Gasket
33 Brake Master Cylinder
34 Brake Master Cylinder Reservoir Bolt
35 Brake Master Cylinder Reservoir ASM Cap
36 Brake Fluid Level Indicator Wiring Harness Bracket Bolt