Disassembled Views
| Callout | Component Name |
|---|---|
| 1 | Torque Converter Assembly - Size Model Dependent |
| 2 | Pump to Case Bolt |
| 3 | Pump to Case Bolt O-Ring |
| 4 | Oil Pump Assembly |
| 5 | A/T Fluid Pump Seal - Pump to Case |
| 6 | Pump Cover to Case Gasket |
| 7 | Case Bushing |
| 9 | Transmission Vent Assembly |
| 11 | Case Servo Plug |
| 12 | Servo Return Spring |
| 13 | 2nd Apply Piston Pin |
| 14 | Retainer Ring - 2nd Apply Piston |
| 15 | Servo Cushion Spring Retainer |
| 16 | Servo Cushion Spring - Outer |
| 17 | 2nd Apply Piston |
| 18 | Oil Seal Ring - 2nd Apply Piston - Outer |
| 19 | Oil Seal Ring - 2nd Apply Piston - Inner |
| 20 | Servo Piston Housing - Inner |
| 21 | O-Ring Seal |
| 22 | Servo Apply Pin Spring |
| 23 | Servo Apply Pin Washer |
| 24 | Retainer Ring - Apply Pin |
| 25 | 4th Apply Piston |
| 26 | Oil Seal Ring - 4th Apply Piston - Outer |
| 27 | O-Ring Seal - 2-4 Servo Cover |
| 28 | 2-4 Servo Cover |
| 29 | Servo Cover Retaining Ring |
| 30 | Case Extension to Case Seal |
| 31 | Case Extension - Model Dependent |
| 32 | Case Extension to Case Bolt |
| 33 | Case Extension Bushing |
| 34 | Case Extension Oil Seal Assembly - Model Dependent |
| 34 | Case Extension Oil Seal Assembly - Model Dependent |
| 35 | Speed Sensor Retaining Bolt |
| 36 | Vehicle Speed Sensor (VSS) |
| 37 | O-Ring Seal - VSS to Case Extension |
| 71 | Filter Seal |
| 72 | Transmission Oil Filter Assembly - Model Dependent |
| 73 | Transmission Oil Pan Gasket |
| 74 | Chip Collector Magnet |
| 75 | Transmission Oil Pan - Model Dependent |
| 76 | Transmission Oil Pan Screw |
| 94 | Converter Housing to Case Bolt |
| 95 | Oil Cooler Quick Connector |
| 96 | Oil Cooler Quick Connect Clip |
| 97 | Converter Housing Access Hole Plug - Model Dependent |
| 98 | Converter Bolt Inspection Plate - Model Dependent |
| 99 | Cup D4 Orifice Plug |
| 102 | Converter Housing - Model Dependent |
| 103 | Main Section Case - Model Dependent |
| 105 | Servo Cushion Spring - Inner - Model Dependent |
| Callout | Component Name |
|---|---|
| 38 | Transmission Case Plug - Accumulator Bleed |
| 39 | Pressure Plug |
| 40 | Third Accumulator (#7) Retainer and Ball Assembly |
| 41 | Band Anchor Pin |
| 42 | Retainer and Ball Assembly - Double Orifice (#10) |
| 43 | Accumulator Piston Pin |
| 44 | 3-4 Accumulator Piston |
| 45 | Oil Seal Ring - 3-4 Accumulator Piston |
| 46 | 3-4 Accumulator Spring - Model Dependent |
| 48 | Valve Body Spacer Plate w/Gasket - Bonded |
| 53 | Spacer Plate Support Plate |
| 54 | 1-2 Accumulator Spring - Outer - Model Dependent |
| 55 | Oil Seal Ring - 1-2 Accumulator |
| 56 | 1-2 Accumulator Piston |
| 57 | 1-2 Accumulator Cover and Pin Assembly - Model Dependent |
| 58 | Accumulator Cover Bolt |
| 59 | Accumulator Cover Bolt |
| 60 | Control Body Valve Assembly - Model Dependent |
| 61 | Checkball (#2, 3, 4, 5, 6, 8, 12) |
| 62 | Valve Body Bolt |
| 63 | Manual Detent Spring Assembly |
| 64 | Manual Detent Spring Bolt |
| 65 | Wiring Harness Pass-Through Connector O-Ring Seal |
| 66 | Wiring Harness Solenoid Assembly - Model Dependent |
| 67 | O-Ring Seal - Solenoid |
| 68 | Hex Washer Head Bolt - Solenoid |
| 77 | Spacer Plate Support Bolt |
| 77 | Spacer Plate Support Bolt |
| 91 | Number 1 Checkball |
| 103 | Main Section Case - Model Dependent |
| 104 | 1-2 Accumulator Spring - Inner |
| 120 | Valve Body Bolt |
| Callout | Component Name |
|---|---|
| 200 | Pump Body |
| 201 | Oil Seal Ring - Slide to Wear Plate |
| 202 | O-Ring Seal - Slide Seal Back-Up |
| 203 | Pump Slide |
| 204 | Pivot Pin Spring |
| 205 | Pivot Slide Pin |
| 208 | Pump Slide Seal Support |
| 209 | Pump Slide Seal |
| 210 | Pump Vane Ring |
| 210 | Pump Vane Ring |
| 211 | Rotor Guide |
| 212 | Oil Pump Rotor |
| 213 | Pump Vane |
| 214 | Stator Shaft |
| 215 | Pump Cover |
| 216 | Pressure Regulator Valve |
| 217 | Pressure Regulator Valve Spring |
| 218 | Pressure Regulator Isolator Spring |
| 219 | Reverse Boost Valve |
| 220 | Reverse Boost Valve Sleeve |
| 221 | Oil Pump Reverse Boost Valve Retaining Ring |
| 222 | Oil Pump Converter Clutch Valve Retaining Ring |
| 223 | Stop Valve |
| 224 | Converter Clutch Valve - Model Dependent |
| 227 | Pressure Relief Bolt Rivet |
| 228 | Pressure Relief Ball |
| 229 | Pressure Relief Spring |
| 230 | Oil Seal Ring - Stator Shaft |
| 231 | Oil Pump Cover Screen Seal |
| 232 | Oil Pump Cover Screen |
| 233 | Bolt M8 X 1.25 X 40 - Cover to Body |
| 234 | Stator Shaft Bushing - Front |
| 235 | Oil Pump Cover Plug - FWD Clutch Feed |
| 236 | Oil Pump Cover Plug |
| 236 | Oil Pump Cover Plug |
| 236 | Oil Pump Cover Plug |
| 236 | Oil Pump Cover Plug |
| 236 | Oil Pump Cover Plug |
| 236 | Oil Pump Cover Plug |
| 237 | Check Valve Retainer and Ball Assembly |
| 237 | Check Valve Retainer and Ball Assembly |
| 238 | Converter Clutch Signal Orifice - Cup Plug |
| 240 | Cup Orifice Plug |
| 241 | Stator Shaft Bushing - Rear |
| 242 | Pump Body Bushing |
| 243 | Oil Seal Assembly |
| 244 | Fluid Seal Retainer |
| 245 | A/T Fluid Pump Slide Outer Spring |
| 246 | Converter Clutch Valve Spring |
| 247 | A/T ISS Attaching Bolt - Model Dependent |
| 249 | O-ring |
| 250 | A/T Input Speed Sensor (ISS) Assembly |
| Callout | Component Name |
|---|---|
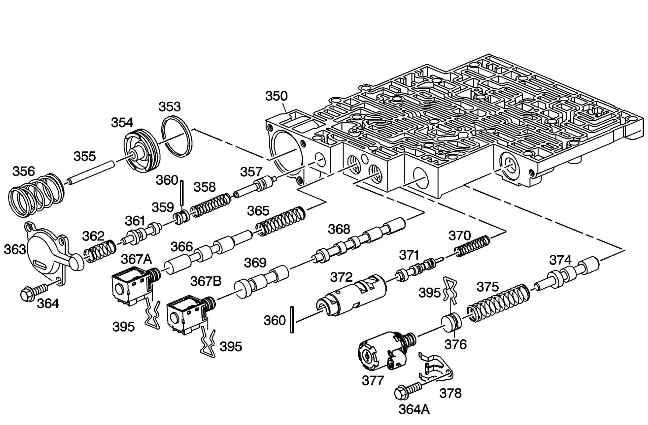
| 350 | Control Valve Body Assembly |
| 353 | Forward Accumulator Oil Seal |
| 354 | Forward Accumulator Piston |
| 355 | Forward Accumulator Pin |
| 356 | Forward Accumulator Spring |
| 357 | Forward Abuse Valve |
| 358 | Forward Abuse Valve Spring |
| 359 | Bore Plug |
| 360 | Coiled Spring Pin |
| 360 | Coiled Spring Pin |
| 361 | Low Overrun Valve |
| 362 | Low Overrun Valve Spring |
| 363 | Forward Accumulator Cover |
| 364 | Forward Accumulator Cover Bolt |
| 364a | Pressure Control Solenoid Retainer Bolt |
| 365 | 1-2 Shift Valve Spring - Model Dependent |
| 366 | 1-2 Shift Valve - Model Dependent |
| 367a | 1-2 Shift Solenoid Valve |
| 367b | 2-3 Shift Solenoid Valve |
| 368 | 2-3 Shift Valve |
| 369 | 2-3 Shuttle Valve |
| 370 | 1-2 Accumulator Valve Spring |
| 371 | 1-2 Accumulator Valve |
| 372 | 1-2 Accumulator Valve Sleeve |
| 374 | Actuator Feed Limit Valve |
| 375 | Actuator Feed Limit Valve Spring |
| 376 | Bore Plug |
| 377 | Pressure Control Solenoid Valve |
| 378 | Pressure Control Solenoid Retainer |
| 395 | Bore Plug and Solenoid Retainer |
| 395 | Bore Plug and Solenoid Retainer |
| 395 | Bore Plug and Solenoid Retainer |
| Callout | Component Name |
|---|---|
| 340 | Manual Valve |
| 350 | Control Valve Body Assembly |
| 359 | Bore Plug |
| 360 | Coiled Spring Pin |
| 380 | Regulator Apply Valve |
| 381 | Bore Plug |
| 381 | Bore Plug |
| 381 | Bore Plug |
| 381 | Bore Plug |
| 382 | 4-3 Sequence Valve Spring |
| 383 | 4-3 Sequence Valve |
| 384 | 3-4 Relay Valve |
| 385 | 3-4 Shift Valve |
| 386 | 3-4 Shift Valve Spring |
| 387 | Reverse Abuse Valve |
| 388 | Reverse Abuse Valve Spring |
| 389 | 3-2 Downshift Valve |
| 390 | 3-2 Downshift Valve Spring |
| 395 | Bore Plug and Solenoid Retainer |
| 395 | Bore Plug and Solenoid Retainer |
| 395 | Bore Plug and Solenoid Retainer |
| 395 | Bore Plug and Solenoid Retainer |
| 395 | Bore Plug and Solenoid Retainer |
| 395 | Bore Plug and Solenoid Retainer |
| 396 | TCC PWM Solenoid Valve |
| 397 | Regulator Apply Spring |
| 398 | Isolator Valve |
| 399 | Pump Ball Check Valve - M33 Only |
| Callout | Component Name |
|---|---|
| 600 | 3-4 Clutch Boost (5) Spring Assembly |
| 601 | Thrust Washer - Pump to Drum |
| 602 | 2-4 Band Assembly - Model Dependent |
| 603 | Reverse Input Clutch Bushing - Front |
| 605 | Reverse Input Clutch Housing and Drum Assembly |
| 606 | Reverse Input Clutch Bushing - Rear |
| 607 | Reverse Input Clutch Piston Assembly |
| 608a | Reverse Input Clutch Seal - Inner |
| 608b | Reverse Input Clutch Seal - Outer |
| 609 | Reverse Input Clutch Spring Assembly |
| 610 | Reverse Input Clutch Spring Retainer Ring |
| 611 | Reverse Input Clutch Plate - Belleville |
| 612a | Reverse Input Clutch Turbulator Plate - Steel |
| 612b | Reverse Input Clutch Plate Assembly - Fiber |
| 613 | Reverse Input Clutch Backing Plate - Selective |
| 614 | Reverse Input Clutch Retaining Ring |
| 615 | Stator Shaft/Selective Washer Bearing Assembly |
| 616 | Thrust Washer - Selective |
| 617 | Check Valve Retainer and Ball Assembly |
| 618 | O-Ring Seal - Location Model Dependent |
| 619 | Oil Seal Ring - Solid |
| 620 | Retainer and Checkball Assembly |
| 621 | Input Housing and Shaft Assembly - Model Dependent |
| 622 | O-Ring Input to Forward Clutch Housing Seal |
| 623 | 3rd and 4th Clutch Piston |
| 625 | 3rd and 4th Clutch Ring - Apply |
| 626 | 3rd and 4th Clutch Spring Assembly |
| 627 | Forward Clutch Housing Retainer and Ball Assembly |
| 628 | Forward Clutch Housing |
| 630 | Forward Clutch Piston |
| 632 | Overrun Clutch Piston |
| 633 | Overrun Clutch Ball |
| 634 | Overrun Clutch Spring Assembly |
| 635 | Overrun Clutch Spring Retainer Snap Ring |
| 636 | Input Housing to Output Shaft Seal |
| 637 | Input Sun Gear Bearing Assembly |
| 638 | Overrun Clutch Hub Retaining Snap Ring |
| 639 | Overrun Clutch Hub |
| 640 | Forward Sprag Clutch Inner Race and Input Sun Gear Assembly |
| 642 | Forward Sprag Assembly |
| 643 | Sprag Assembly Retainer Ring |
| 643 | Sprag Assembly Retainer Ring |
| 644 | Forward Clutch Race - Outer |
| 645a | Overrun Clutch Plate - Steel |
| 645b | Overrun Clutch Plate Assembly - Fiber |
| 646 | Forward Clutch Plate - Apply |
| 648 | Forward Clutch Plate - Waved |
| 649a | Forward Clutch Plate - Steel |
| 649b | Forward Clutch Plate Assembly - Fiber |
| 650 | Forward Clutch Backing Plate - Selective |
| 651 | Forward Clutch Backing Plate Retainer Ring |
| 653 | 3rd and 4th Clutch Apply Plate - Stepped |
| 653 | 3rd and 4th Clutch Apply Plate - Stepped |
| 653 | 3rd and 4th Clutch Apply Plate - Stepped |
| 654a | 3rd and 4th Clutch Plate Assembly - Fiber - Quantity Model Dependent 5, 6 or 7 Plates |
| 654b | 3rd and 4th Clutch Plate - Steel - Quantity Model Dependent |
| 655 | 3rd and 4th Clutch Backing Plate - Selective - Model Dependent |
| 655 | 3rd and 4th Clutch Backing Plate - Selective - Model Dependent |
| 655 | 3rd and 4th Clutch Backing Plate - Selective - Model Dependent |
| 656 | 3rd and 4th Clutch Backing Plate Retainer Ring |
| 657 | Input Sun Gear Front Bushing |
| 659 | Input Sun Gear Rear Bushing |
| 688 | Cup Plug |
| 698 | Orificed Cup Plug |
| Callout | Component Name |
|---|---|
| 661 | Output Shaft to Input Carrier Retainer |
| 662 | Input Carrier Assembly - 4 or 5 Pinion-Model Dependent |
| 662 | Input Carrier Assembly |
| 663 | Thrust Bearing Assembly - Input Carrier to Reaction Shaft |
| 664 | Input Internal Gear |
| 665 | Reaction Carrier Shaft Front Bushing |
| 666 | Reaction Carrier Shaft |
| 667 | Reaction Carrier Shaft Rear Bushing |
| 668 | Reaction Shaft/Internal Gear Retainer Ring |
| 669 | Thrust Bearing Assembly - Reaction Shaft Shell |
| 670 | Reaction Sun Shell |
| 671 | Reaction Sun Gear Retainer Ring |
| 672 | Reaction Sun Bushing |
| 673 | Reaction Sun Gear |
| 674 | Thrust Washer - Race/Reaction Shell |
| 675 | Low and Reverse Roller Clutch Race |
| 676 | Low and Reverse Support to Case Retainer Ring |
| 677 | Low and Reverse Roller Assembly Retainer Ring - Cam |
| 677 | Low and Reverse Roller Assembly Retainer Ring - Cam |
| 678 | Low and Reverse Roller Clutch Assembly |
| 679 | Low and Reverse Clutch Support Assembly |
| 680 | Low and Reverse Clutch Support Retainer Spring |
| 681 | Reaction Carrier Assembly - 4 or 5 Pinion-Model Dependent |
| 681 | Reaction Carrier Assembly - 4 or 5 Pinion-Model Dependent |
| 682a | Low and Reverse Clutch Plate - Waved |
| 682b | Spacer Low and Reverse Clutch Plate - Selective |
| 682c | Low and Reverse Clutch Plate Assembly - Fiber |
| 682d | Low and Reverse Clutch Turbulator Plate - Steel |
| 683 | Thrust Bearing Assembly - Reaction Carrier/Support |
| 684 | Internal Reaction Gear - Model Dependent |
| 685 | Internal Reaction Gear Support - Model Dependent |
| 686 | Reaction Gear/Support Retainer Ring |
| 687 | Output Shaft - Model Dependent |
| 690 | Output Shaft Sleeve - Model Dependent 2WD only |
| 691 | Output Shaft Seal - Model Dependent 2WD only |
| 692 | Reaction Gear Support to Case Bearing |
| 693 | Low and Reverse Clutch Retainer Ring |
| 694 | Low and Reverse Clutch Spring Assembly |
| 695 | Low and Reverse Clutch Piston |
| 696a | Low and Reverse Clutch Seal - Outer |
| 696b | Low and Reverse Clutch Seal - Center |
| 696c | Low and Reverse Clutch Seal - Inner |
| 697 | Oil Deflector - High Output Models Only |
| 699 | Internal Transmission Speed Sensor Rotor |
| Callout | Component Name |
|---|---|
| 78 | Steel Cup Plug |
| 79 | Parking Brake Pawl Shaft |
| 80 | Parking Pawl Return Spring |
| 81 | Parking Brake Pawl |
| 82 | Manual Shaft Seal |
| 84 | Manual Shaft - Model Dependent |
| 85 | Parking Lock Actuator Assembly |
| 86 | Parking Lock Bracket |
| 87 | Parking Lock Bracket Bolt |
| 88 | Manual Shift Detent Lever with Shaft Position Switch Assembly |
| 89 | Manual Valve Link |
| 92 | Manual Shift Detent Lever Hub Pin |