LEMON Manuals: Even more car manuals for everyone: 1960-2025
Home >> Hummer >> 2010 >> H3 Alpha >> Repair and Diagnosis (Single Page) >> External Pages >> Different car >> Section 1924 (Wiring Systems And Power Management - Component Connector End Views - Memory Seat Module (X5) To Yaw Sensor) >> Component Connector End Views >> Starter Motor X1 (except HP2)
April 5, 2026: LEMON Manuals is launched! Read the announcement.

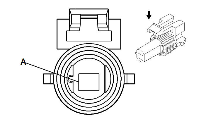
Starter Motor X1 (except HP2)

WARNING: This page does not describe the selected car, but rather 8 other vehicles, including the 2012 GMC Yukon XL, 2012 GMC Yukon, 2012 Chevrolet Tahoe, 2012 Chevrolet Suburban, and 2012 Chevrolet Avalanche. However, it is still accessible from the selected car via links, so may be relevant.
GM696940Courtesy of
Connector Part Information
  • Harness Type: Engine
  • OEM Connector: 15481001
  • Service Connector: 13584479
  • Description: 1-Way F Metri-Pack 280 Series, Sealed (BK)
Terminal Part Information
  • Terminated Lead: Service by Connector Assembly- 88988118
  • Release Tool: J-38125-11A
  • Diagnostic Test Probe: J-35616-4A (PU)
  • Terminal/Tray: 12077413/4
  • Core/Insulation Crimp: F/5
Starter Motor X1 (except HP2)

Pin Wire Circuit Function
A 3 PU 6 Starter Solenoid Crank Voltage