LEMON Manuals: Even more car manuals for everyone: 1960-2025
Home >> Hummer >> 2010 >> H3 Alpha >> Repair and Diagnosis (Single Page) >> External Pages >> Different car >> Section 1924 (Wiring Systems And Power Management - Component Connector End Views - Memory Seat Module (X5) To Yaw Sensor) >> Component Connector End Views >> Tail Lamp Circuit Board- Right (Z75 with E52)
April 5, 2026: LEMON Manuals is launched! Read the announcement.

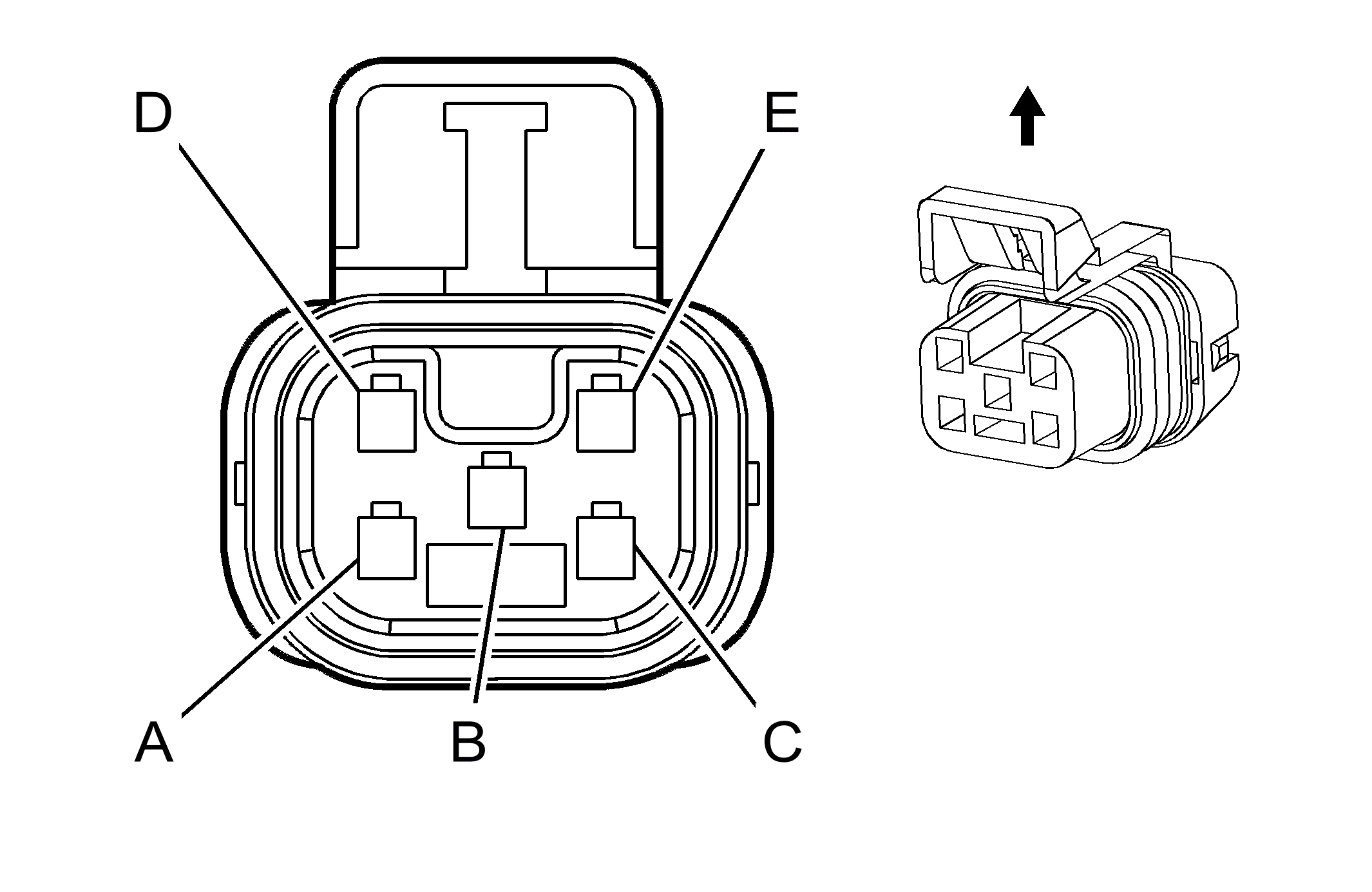
Tail Lamp Circuit Board- Right (Z75 with E52)

WARNING: This page does not describe the selected car, but rather 8 other vehicles, including the 2012 GMC Yukon XL, 2012 GMC Yukon, 2012 Chevrolet Tahoe, 2012 Chevrolet Suburban, and 2012 Chevrolet Avalanche. However, it is still accessible from the selected car via links, so may be relevant.
GM1333935Courtesy of
Connector Part Information
  • Harness Type: Body
  • OEM Connector: 12077591
  • Service Connector: 12117277
  • Description: 5-Way F Metri-Pack 150 Series, Sealed (BK)
Terminal Part Information
  • Terminated Lead: Service by Connector Assembly- 12117277
  • Release Tool: Not Available
  • Diagnostic Test Probe: Not Available
  • Terminal/Tray: Not Available
  • Core/Insulation Crimp: Not Available
Tail Lamp Circuit Board- Right (Z75 with E52)

Pin Wire Circuit Function
A 0.5 BN 2609 Right Rear Park Lamps Control
B 0.5 YE/BK 1335 Right Rear Stop/Turn Lamp Control
C 0.5 PK/BK 5357 Right Tail Lamp Outage Detection Signal
D 0.5 BK 1750 Ground
E 0.5 L-BU 20 Right Rear Stop/Turn Lamp Control (EXP)
0.5 L-BU 19 Right Rear Stop/Turn Lamp Control (except EXP)