LEMON Manuals: Even more car manuals for everyone: 1960-2025
Home >> Hyundai >> 1998 >> Tiburon L4-1.8L >> Repair and Diagnosis >> Powertrain Management >> Computers and Control Systems >> Relays and Modules - Computers and Control Systems >> Main Relay (Computer/Fuel System) >> Testing and Inspection >> Component Inspection
April 5, 2026: LEMON Manuals is launched! Read the announcement.

Component Inspection

Part 1 Of 4:




Part 2 Of 4:











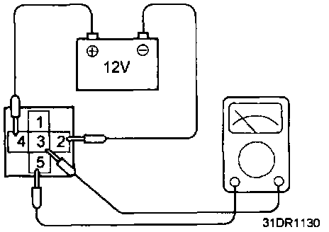
MFI CONTROL RELAY INSPECTION
1. Check continuity of relay contacts between terminal 4 (+) and 2 (-).
2. If faulty, replace the MFI control relay.

Tightening torque
MFI control relay 7 - 11 Nm (7 - 110 kg.cm, 5.2 - 8.1 lb.ft)