LEMON Manuals: Even more car manuals for everyone: 1960-2025
Home >> Hyundai >> 2004 >> Tiburon L4-2.0L >> Repair and Diagnosis >> Powertrain Management >> Computers and Control Systems >> Relays and Modules - Computers and Control Systems >> Body Control Module >> Testing and Inspection >> Non-Trouble Code Procedures >> BCM
April 5, 2026: LEMON Manuals is launched! Read the announcement.

BCM

INSPECTION
While operating the components, check whether the operations are normal with timing chart.

BCM FUNCTION




1. Vehicle speed sensing intermittent wiper
Vehicle speed is determined by number of speed sensor pulses input in one second The current speed and the previous speed for the vehicle is to be compared. The higher of the two values is to be used in the intermittent time calculation. The previous value is updated every second.

When Ignition 2 is on and the wiper switch is in the intermittent position, the wiper shall operate with speed dependent intermittent time. A single wipe is achieved by driving the wiper relay until the park switch is able to take over unless the dwell time between wipes is too short. In this case it would be on all the time. This avoids unnecessary clicking of the wiper relay.

2. Washer linkage wiper




IG2 must be on for this function to operate. When the washer switch is on for more than 0.3 sec, the wiper output is activated immediately. The length of time the washer switch is held for is then evaluated to determine the number of swipes required.
If the washer switch is on for more than 0.2 but less than 0.6 sec, then wiper performs a single swipe. Alternatively, if the washer switch is held for more than 0.6 s then the wipers must finish the current swipe the perform another two swipes. If washer switch is on less than 0.2 seconds make no wiper action.

During intermittent wiping, a washer linkage wipe has higher priority.

During start condition (IG1 on and IG2 off) washer input to be ignored. This is to prevent quality problem of single wipe occurring during starting of car.

3. Snow build up wiper bounce prevention (snow mode)
Without this feature, as snow builds up at the base of the windscreen, it becomes more difficult for the wiper arms to completely reach the park position. Once the wipers have been turned off and the wipers have returned to the park position, the compacted snow is able to drive the wiper arms back up and reactivate the park switch. This, in turn, drives the wiper arms towards park again and the cycle repeats itself.

This feature is required to prevent wiper bounce from happening when snow has accumulated on the wind-screen.

Detection of wiper bounce
If the BCM detects that the wipers have parked more than a maximum amount times within a time period then wiper bounce is detected. The maximum amount of times can be set in EEPROM using the variable wipe snow parks. The time can also be set in EEPROM using the variable wipe snow time. The units of wipe snow time is milliseconds.

Bounce prevention
If wiper bounce has been detected then the wiper bounce prevention relay is driven to open circuit. The wiper bounce relay is in series with the park switch and thus can prevent automatic parking. This relay is normally closed.

Termination of bounce prevention
Termination is achieved by ceasing to drive the wiper bounce relay to open circuit. Bounce prevention can be terminated in the following ways:
- Ignition off. The power source for the wiper motor is derived from IG2, thus there will be no drive to park with ignition off. As such bounce prevention is not required.
- The wiper stalk has moved from the OFF position,

4. Wiper motor stall protection
This feature offers some protection to the wiper motor if ice has frozen the wiper blades to the windscreen or the wipers have jammed for some other reason. During low and high wiper selection, no protection is offered since the stalk drives the wiper motor directly.

If the wiper motor has not parked within wipe stall time, then wiper motor is considered to have stalled. In this case, the wiper bounce relay is driven to open circuit until either of the following events occurs:
- The ignition has been switched to the off position.
- The wipers have returned the park position by a manual operation (Low or high speed selected)
- The wiper stalk has moved from the OFF position.

Wipe stall time can be set in EEPROM and it's units are 100 ms

During INT operation, if the time between initiating and concluding a wipe is greater than Wipe stall time then the wiper motor is also considered to have stalled. In this case, the current wipe is terminated and INT operation is cancelled until either of the following events occurs:
- The wiper stalk has moved from the OFF position.
- The ignition has been switched off.

5. Knob activated central locking




If either the drivers door lock or the assistant door lock is moved from the locked position to the unlocked position then all other door locks will follow, but the tailgate will not change state. Conversely, if the drivers door lock or the assistant door lock is moved from the unlocked position to the locked position then all other door locks will follow. Locking and unlocking is achieved by driving the door lock motors in the respective direction for 0.5 seconds

Installation of the battery should not change the state of the locks.

6. Ignition key reminder (Locking of key in vehicle prevention)




If the key is in the ignition and the driver's door or assist door is open and the vehicle is locked using driver's knob or assist knob, then the central locking system will issue an unlock pulse of duration 1 second to the all doors thus preventing locking of the vehicle.

If a Knob remains locked, then the central locking shall issue a maximum of 3 pulses of 0.5 second duration to unlock the vehicle.

If during these pulses, the door lock knob becomes unlocked, stop the next pulse. If vehicle speed is greater than 3 km/h, ignition key reminder function is disabled.
If door warning switch is off and ignition input is on then ignition key reminder function is disabled.

7. Key operated warning (key in ignition reminder chime)




If the key is in ignition key cylinder and the drivers door is opened, the chime bell sounds. This tone is the same as the seatbelt warning chime and over speed warning chime. The chime sound is generated with an 800 Hz drive, amplitude modulated with an exponentially decaying envelope of time constant 1 ± 0.25 seconds. If the door is closed or the key is removed, the chime stops immediately.

8. Crash detection - Unlock




If IG1 is on and a crash signal is received, send an unlock pulse to the door locks. Unlock signal must occur within 12 ± 5 m sec after crash signal is received. Unlock pulse is 5 sec period. If crash unlock is not used in a particular variant then the crash input is to be left floating.

The crash sensor is normally high. A crash signal is defined as when voltage is below 1.5 V. Crash input signal characteristic: Normal hi & 200 m sec period ground after crash. Only one crash unlock can occur during one ignition on cycle.

9. Auto light control
Lights must be turned on 500 ± 100 m sec after the input light to the light sensor has been received. Lights must be turned off 3 ± 1 sec after the input light to the light sensor has been removed. Head lamps must be turned off 300 m sec before the tail lamps are switched off. When the headlight switch is in the auto position and light intensity fulfilling the table is detected, the tail lamp and the head lamps will be turned on. These figures are based upon the use of untinted solar glass.




The headlamps must remain on when the headlamp switch is rotated from the ON to the AUTO position until such time that the light sensor input is evaluated as per the table.

If the option select input is grounded, both the headlamps and the tail lamps shall illuminate when the voltage drops below the tail lamp threshold. When the voltage rises above the tail lamp threshold, both the headlamps and the tail lamps shall extinguish.

10. Tail lamp auto cut




When key is in the ignition key cylinder and tail lamp switch is on, followed by removing key from ignition and then opening of the drivers doors will turn off the tail lamp relay. If driver door is opened first, followed by removing key from ignition, then tail lamp is switched off.

If tail lamps have been cut automatically, and then the tail lamp switch is turned off and on, then tail lamp is switched on and auto cut function is cancelled. If tail lamps have been cut automatically, and the ignition-key is inserted, then tail lamps are turned on.

11. Power window timer




When Ignition 2 is on, the power window relay output is turned on.

When Ignition 2 is turned off the power window feed is maintained on for 30 seconds and then turned off. If the driver door or assist door is opened during 30 sec interval the output shall be turned off immediately. If doors are open and ignition 2 is then turned on, the output shall be turned on immediately. If doors are open and ignition 2 is then turned off, the output shall be turned off immediately.

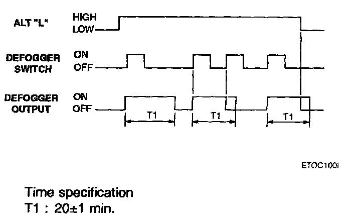
12. Rear defog control (Rear demister control)




When the engine is running (Alternator"L"is high) a contact of the rear defog switch (momentary action) will switch the rear defog relay output on for 20 minutes duration.

If the rear defog switch is pressed again during this time, or if the engine stops, the rear defog relay is immediately switched off.

13. Ignition key hole illumination




When the drivers door is open, the ignition key illumination is turned on.
When driver door is closed, illumination is on for 10 sec, then off.
When the assist door is open, the ignition key illumination is turned on.
When assist door is closed, illumination is on for 10 sec, then off.
The key illumination is extinguished immediately when the ignition 1 comes on.
Locking of the vehicle from the transmitter (arm state) shall extinguish ignition key Illumination.

14. Decayed room lamp (Illuminated entry with fade out)




When the first door (driver, or assist) is opened, the interior light shall brighten to full intensity in less than 0.5 seconds

When the last door is closed, the room lamp will drop to 75% intensity then fade out over 5.5 ± 0.5 seconds
If the ignition 2 is switched on when room light is fading out, the room lights switch off immediately.
If the door open signal is on for less than 0.1 seconds, then no illumination occurs.
Lamps must not flicker during fade operation, If a door open or ignition on.
When transmitter (TX) unlock is received, room lamps are turned on in less than 0.5 second for maximum 30 seconds

While room lamp is on due to TX unlock, if another TX unlock is received, then room lamp is again on for 30 sec

When TX lock(arm state) is received during 30 second from TX unlock, lamp is turned off immediately.

If TX lock (arm state) is received during fade out, the room lamp is switched off immediately.

Door locking functions should not be influenced by room lamp decay functions.

15. Seat belt warning

1. Seat belt warning indicator
Whenever the ignition 1 is turned on the seat belt warning indicator is illuminated for total time 6 seconds, with period 0.6 sec and duty rate 50%. It is not extinguished if the seat belt is sensed as fastened.

If ignition 1 is already on and the seat belt is removed, the indicator is illuminated for total time 6 seconds, with period 0.6 sec and duty rate 50%. If ignition 1 is switched off in while the indicator is illuminated, the illumination is switched off immediately.

2. Seat belt warning chime




Whenever the ignition 1 is turned on the seat belt warning chime is sounded for total time 6 seconds, with period 0.9 sec and duty rate 50%. It is silenced immediately if the seat belt is sensed as fastened.

If ignition 1 is already on and the seat belt is removed, the chime is sounded for total time 6 seconds, with period 0.9 sec and duty rate 50%. If ignition 1 is switched off in while the chime is sounding, the chime is switched off immediately.

16. Over speed warning chime




If the IGN2 is on, and the over speed input is grounded by cluster, chime is sounded until over speed input by cluster is opened.

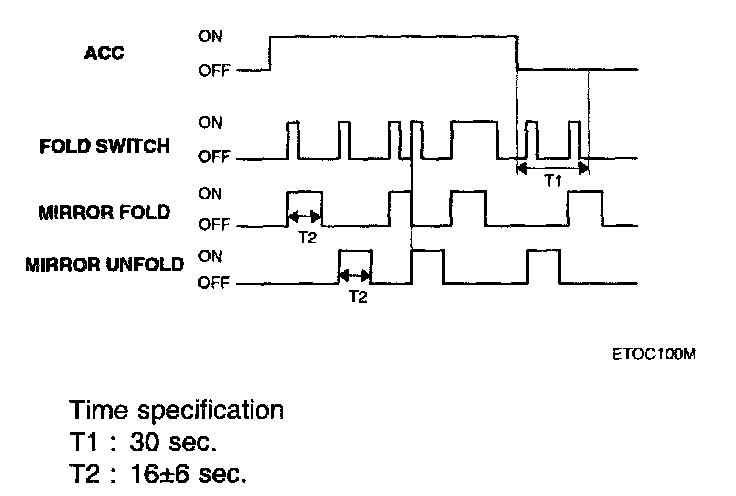
17. Folding mirror unit




If ACC is on, with each press of the folding mirror switch, the mirror fold and unfold outputs will operate alternatively for 16 ± 6 sec A second press of the fold switch during an output shall cause the opposite output to occur.

If the folding mirror switch is pressed within 30 seconds after the ACC signal is removed, the mirror outputs (folding or unfolding) will operate for 16 ± 6 sec If during the mirror operation, the folding mirror switch is pressed again then the opposite operation will commence again. If after the ACC signal is removed, the folding mirror switch is repressed within the 16 ± 6 sec, the mirror outputs will operate for a further 16 ± 6sec

18. Rear fog lamp control When IGN1 is on and:




- Tail lamps are on by switch or auto light
- Headlamps are on by switch or auto light or front fog switch is on, then if rear fog switch is contacted the rear fog lamps are turned on.