LEMON Manuals: Even more car manuals for everyone: 1960-2025
Home >> Hyundai >> 2005 >> Tucson L4-2.0L >> Repair and Diagnosis >> Powertrain Management >> Computers and Control Systems >> Transmission Position Sensor/Switch >> Testing and Inspection
April 5, 2026: LEMON Manuals is launched! Read the announcement.

Transmission Position Sensor/Switch: Testing and Inspection

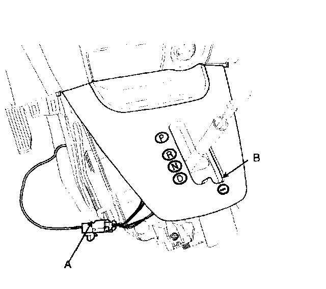
TRANSAXLE RANGE SWITCH (INHIBITOR SWITCH)

INSPECTION
1. Check for the starter motor when the ignition switch is at "START" position and the shift lever at "P" or "N" range.
2. Check for the rear lamp when the ignition switch if it does not work properly.
3. Check for the inhibitor switch if it does not work properly.
4. If the inhibitor switch is not fixed in a proper position, reassemble it in the right position.
5. Re-check 1 and 2 procedures.
6. Using a scan tool, confirm the DTCs.
7. Disconnect the battery (-) terminal and the inhibitor switch.








8. Check for continuity between terminals at the switch connector.
9. If there are not continuity between the terminals in the table above for each switch position, replace the inhibitor switch,