LEMON Manuals: Even more car manuals for everyone: 1960-2025
Home >> Hyundai >> 2007 >> Entourage V6-3.8L >> Repair and Diagnosis >> Powertrain Management >> Ignition System >> Spark Plug >> Testing and Inspection
April 5, 2026: LEMON Manuals is launched! Read the announcement.

Spark Plug: Testing and Inspection

INSPECT SPARK PLUG




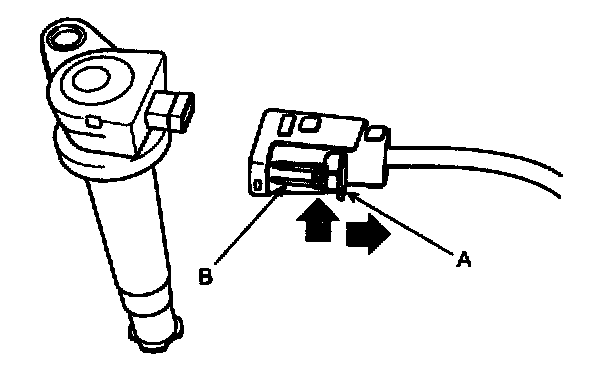
1. Remove the ignition coil connector (A).






NOTE: When removing the ignition coil connector, pull the lock pin (A) and push the clip (B).

2. Remove the ignition coil (B).
Remove bolt holding down the ignition coil.
Remove ignition coil from engine.

3. Using a spark plug socket, remove the spark plug.

CAUTION: Be careful that no contaminates enter through the spark plug holes.







4. Inspect the electrodes (A) and ceramic insulator (B).




5. Check the electrode gap (A).

Standard :
Unleaded : 1.0 - 1.1 mm (0.0394 - 0.0433 in.)