LEMON Manuals: Even more car manuals for everyone: 1960-2025
Home >> Hyundai >> 2013 >> Elantra L4-1.8L >> Repair and Diagnosis >> Diagrams >> Electrical Diagrams >> Automatic Transmission/Transaxle >> Control Module, A/T >> Transaxle Control Module (TCM)
April 5, 2026: LEMON Manuals is launched! Read the announcement.

Transaxle Control Module (TCM)





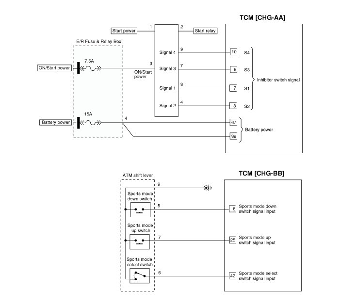
1. TCM Connector and Terminal Function





2. TCM Terminal Function

Connector [CHG-AA]










TCM Terminal Input/ Output Signal

Connector [CHG-AA]













Connector [CHG-BB]






Circuit Diagram