LEMON Manuals: Even more car manuals for everyone: 1960-2025
Home >> Hyundai >> 2013 >> Genesis Coupe 3.8 R-Spec >> Repair and Diagnosis >> Engine Performance >> Engine Control Systems >> Engine Control System - 3.8L >> Engine Control Module (ECM) >> Repair Procedures >> Removal
April 5, 2026: LEMON Manuals is launched! Read the announcement.

Repair Procedures: Removal

CAUTION: When replacing the ECM, the vehicle equipped with the immobilizer must be performed procedure as below.

[In the case of installing used ECM] 

  1. Perform "ECM Neutral mode" procedure with GDS. (Refer to IMMOBILIZER SYSTEM )
  2. After finishing "ECM Neutral mode", perform "Key teaching" procedure with GDS. (Refer to IMMOBILIZER SYSTEM )

[In the case of installing new ECM] 

Perform "Key teaching" procedure with GDS. (Refer to IMMOBILIZER SYSTEM )

CAUTION: When replacing the ECM, the vehicle equipped with the smart key system (Button start) must be performed procedure as below.

[In the case of installing used ECM] 

  1. Perform "ECM Neutral mode" procedure with GDS. (Refer to SMART KEY SYSTEM )
  2. After finishing "ECM Neutral mode", insert the key (or press the start button) and turn it to the IGN ON and OFF position. Then the ECM learns the smart key information automatically.

[In the case of installing new ECM] 

Insert the key (or press the start button) and turn it to the IGN ON and OFF position. Then the ECM learns the smart key information automatically.

  1. Turn ignition switch OFF and disconnect the negative (-) battery cable.
  2. Remove the cover.
  3. Disconnect the ECM connector (A) and the TCM connector (B).
    Fig 1: Identifying ECM Connector & TCM Connector
    G00540417Courtesy of HYUNDAI MOTOR CO.
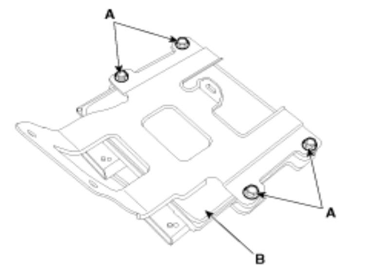
  4. Remove the ECM & TCM bracket installation bolts (C) and nut (D).
  5. After removing the installation bolts (A), remove the ECM (B) from the bracket.
    Fig 2: Identifying Bolts, ECM, Bolts & Nut
    G00540418Courtesy of HYUNDAI MOTOR CO.