LEMON Manuals: Even more car manuals for everyone: 1960-2025
Home >> Hyundai >> 2015 >> Veloster Base, Standard Trans >> Repair and Diagnosis >> Body & Frame >> Door Locks >> Smart Key System >> Smart Key Unit >> Repair Procedures >> Removal >> Trunk antenna
April 5, 2026: LEMON Manuals is launched! Read the announcement.

Trunk antenna

  1. Disconnect the Negative (-) Battery Terminal.
  2. Remove the Trunk Transverse Trim.

    (Refer to: BD procedure - "INTERIOR TRIM ").

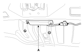
  3. Disconnect the Connector then remove the Trunk Antenna (A) after loosening 2 Nuts.
    Fig 1: Loosening Trunk Antenna Nuts
    G10605758Courtesy of HYUNDAI MOTOR AMERICA