LEMON Manuals: Even more car manuals for everyone: 1960-2025
Home >> Hyundai >> 2016 >> Genesis 3.8, AWD >> Repair and Diagnosis >> Engine Performance >> Engine Control Systems >> General Information - Engine Control/Fuel System - 3.8L >> Troubleshooting >> Basic Troubleshooting >> Connector Inspection Procedure
April 5, 2026: LEMON Manuals is launched! Read the announcement.

Connector Inspection Procedure

  1. Handling of Connector
    1. When disconnecting the connectors, pull on the connector, not the wiring harness.
      Fig 1: Caution For Disconnecting Connectors
      G10452149Courtesy of HYUNDAI MOTOR AMERICA
    2. When removing the connector with a lock, press or pull locking lever.
      Fig 2: Locking Levers And Connector Locks
      G10452150Courtesy of HYUNDAI MOTOR AMERICA
    3. When connecting the connectors, check whether a clicking sound is heard to make sure that the connectors are securely connected.
      Fig 3: Checking Connectors For Click Sound
      G10452151Courtesy of HYUNDAI MOTOR AMERICA
    4. When a tester is used to check for continuity, or to measure voltage, always insert the test probe in the wiring harness side.
      Fig 4: Caution For Checking Wire Harness Continuity
      G10452152Courtesy of HYUNDAI MOTOR AMERICA
    5. Check waterproof connector terminals from the connector side. Waterproof connectors cannot be accessed through the harness side.
      Fig 5: Caution For Checking Waterproof Connector Terminals
      G10452153Courtesy of HYUNDAI MOTOR AMERICA
      NOTE:
      • Use a fine wire to prevent the terminal from being damaged.
      • Do not damage the terminal when inserting the tester lead.
  2. Checking Point for Connector
    1. While the connector is connected:

      Hold the connector, check connecting condition and locking efficiency.

    2. When the connector is disconnected:

      Check missed terminal, crimped terminal or broken core wire by slightly pulling the wire harness.

      Visually check for rust, contamination, deformation and sagging.

    3. Check terminal tightening condition:

      Insert a spare male terminal into a female terminal, and then check terminal tightening conditions.

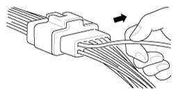
    4. Pull lightly on individual wires to ensure that each wire is secured in the terminal.
      Fig 6: Pulling Wires
      G10452154Courtesy of HYUNDAI MOTOR AMERICA
  3. Repair Method of Connector Terminal
    1. Clean the contact points using air gun and/or a cotton towel.
      NOTE: Never use sand paper when polishing the contact points, otherwise the contact point may be damaged.
    2. In case of abnormal contact pressure, replace the female terminal.