LEMON Manuals: Even more car manuals for everyone: 1960-2025
Home >> Infiniti >> 2005 >> Q45 >> Repair and Diagnosis >> Engine Performance >> System >> Engine Control System - System Testing >> ICC Brake Switch >> Component Inspection >> ICC Brake Hold Relay
April 5, 2026: LEMON Manuals is launched! Read the announcement.

ICC Brake Hold Relay

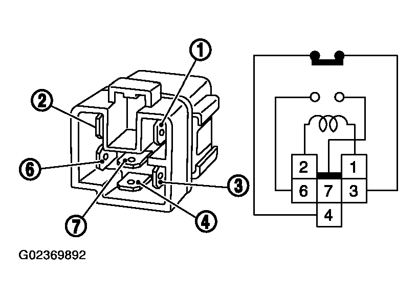
  1. Apply 12V direct current between ICC brake hold relay terminals 1 and 2.
  2. Check continuity between relay terminals 3 and 4, 6 and 7 under the following conditions.
    Fig 1: ICC Brake Hold Relay Terminals Continuity Checking Conditions
    G02369891Courtesy of NISSAN MOTOR CO., U.S.A.
  3. If NG, replace ICC brake hold relay.
    Fig 2: Identifying ICC Brake Hold Relay Terminals And Circuit
    G02369892Courtesy of NISSAN MOTOR CO., U.S.A.