LEMON Manuals: Even more car manuals for everyone: 1960-2025
Home >> Infiniti >> 2009 >> EX35 Base, AWD >> Repair and Diagnosis (Single Page) >> Accessories & Equipment >> Entertainment Systems >> Audio, Visual & Navigation System >> Base Audio Without Navigation >> Function Diagnosis >> Audio System >> System Diagram
April 5, 2026: LEMON Manuals is launched! Read the announcement.

System Diagram

Fig 1: Audio -- System Diagram
G05731535Courtesy of NISSAN MOTOR CO., U.S.A.
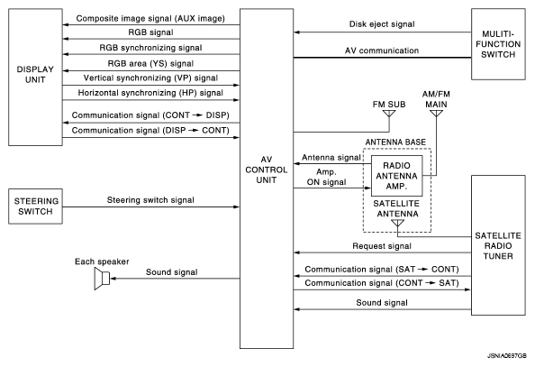
NOTE: An antenna base integrated with radio antenna and satellite radio antenna is adopted.
Fig 2: Radio And Satellite Radio Antenna Communication Diagram
G05731530Courtesy of NISSAN MOTOR CO., U.S.A.