LEMON Manuals: Even more car manuals for everyone: 1960-2025
Home >> Infiniti >> 2009 >> M45 Base >> Repair and Diagnosis >> Transmission >> Automatic Transmission >> [5AT: Re5R05A] >> Service Information >> A/T Control System >> TCM Function >> Control System Diagram
April 5, 2026: LEMON Manuals is launched! Read the announcement.

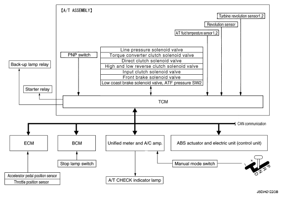
Control System Diagram

Fig 1: A/T Control System Diagram
G05218515Courtesy of NISSAN MOTOR CO., U.S.A.