LEMON Manuals: Even more car manuals for everyone: 1960-2025
Home >> Infiniti >> 2009 >> QX56 AWD >> Repair and Diagnosis >> Engine Performance >> System >> Engine Control System - Component Testing >> ICC Brake Switch >> Component Inspection >> ICC Brake Hold Relay
April 5, 2026: LEMON Manuals is launched! Read the announcement.

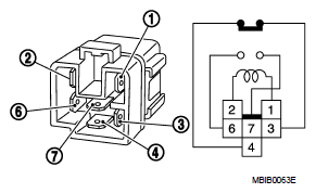
ICC Brake Hold Relay

  1. Apply 12V direct current between ICC brake hold relay terminals 1 and 2.
  2. Check continuity between relay terminals 3 and 4, 6 and 7 under the following conditions.
    CONTINUITY REFERENCE CHART

    Condition Between terminals Continuity
    12V direct current supply between terminals 1 and 2 3 and 4 Should not exist
    6 and 7 Should exist
    No current supply 3 and 4 Should exist
    6 and 7 Should not exist
  3. If NG, replace ICC brake hold relay.
    Fig 1: Identifying ICC Brake Hold Relay Terminals And Circuit
    G06315864Courtesy of NISSAN MOTOR CO., U.S.A.