LEMON Manuals: Even more car manuals for everyone: 1960-2025
Home >> Infiniti >> 2010 >> FX35 AWD >> Repair and Diagnosis >> Engine Performance >> System >> Engine Control System (VQ35HR) - Introduction, DTC Index, Function & Component Diagnosis >> Component Diagnosis >> Trouble Diagnosis - Specification Value >> Diagnosis Procedure >> Overall Sequence
April 5, 2026: LEMON Manuals is launched! Read the announcement.

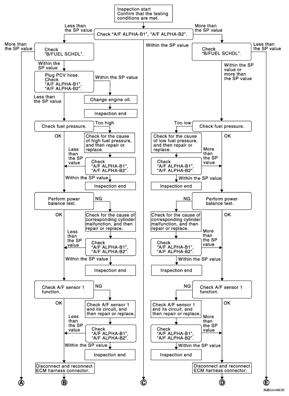
Overall Sequence

Fig 1: Specification Value Diagnosis Procedure Flow Diagram (1 Of 2)
G05881567Courtesy of NISSAN MOTOR CO., U.S.A.
Fig 2: Specification Value Diagnosis Procedure Flow Diagram (2 Of 2)
G05207683Courtesy of NISSAN MOTOR CO., U.S.A.