LEMON Manuals: Even more car manuals for everyone: 1960-2025
Home >> Infiniti >> 2010 >> M35 Base >> Repair and Diagnosis (Single Page) >> Transmission >> Automatic Trans >> Automatic Transmission - Basic Inspection And Function Diagnosis (7AT: Re7R01A) >> [7AT: Re7R01A] >> Function Diagnosis >> Shift Pattern Control >> ASC (Adaptive Shift Control) >> ASC (ADAPTIVE SHIFT CONTROL): System Diagram
April 5, 2026: LEMON Manuals is launched! Read the announcement.

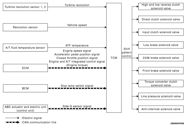
ASC (ADAPTIVE SHIFT CONTROL): System Diagram

Fig 1: Shift Pattern Control System Diagram
G05980302Courtesy of NISSAN MOTOR CO., U.S.A.