LEMON Manuals: Even more car manuals for everyone: 1960-2025
Home >> Infiniti >> 2011 >> G37 Base, 2D Convertible >> Repair and Diagnosis >> Body & Frame >> Windows >> Power Window Control System -- G37 Convertible >> System Description >> Power Window System >> System Diagram
April 5, 2026: LEMON Manuals is launched! Read the announcement.

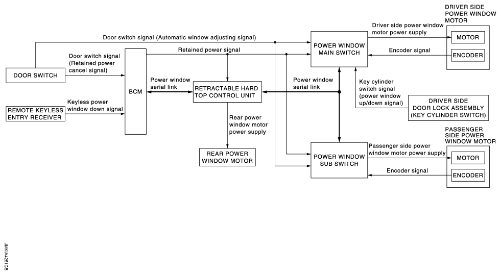
System Diagram

Fig 1: Power Window System Diagram
G07161843