LEMON Manuals: Even more car manuals for everyone: 1960-2025
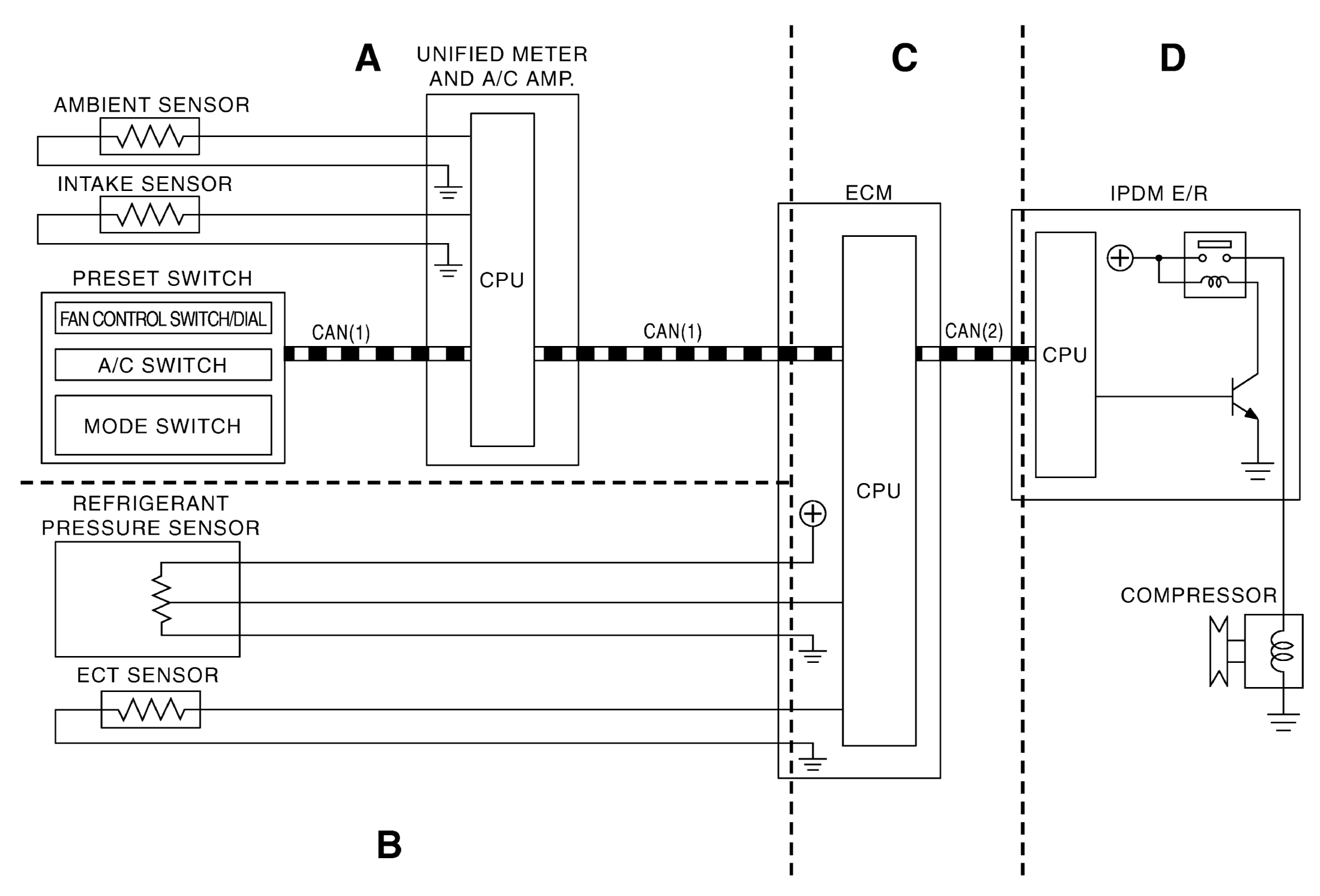
Home >> Infiniti >> 2012 >> EX35 Base, AWD >> Repair and Diagnosis (Single Page) >> Heating, Ventilation & A/C (HVAC) >> HVAC Control Systems >> Heater & Air Conditioning Control System >> System Description >> Compressor Control Function >> Description >> Principle Of Operation >> Functional circuit diagram
April 5, 2026: LEMON Manuals is launched! Read the announcement.

Functional circuit diagram

Fig 1: Compressor Control - Functional Circuit Diagram
G08195546Courtesy of NISSAN NORTH AMERICA, INC.