LEMON Manuals: Even more car manuals for everyone: 1960-2025
Home >> Infiniti >> 2012 >> G25 Base >> Repair and Diagnosis (Single Page) >> Electrical >> Body Electrical >> Power Control System (Sedan) >> IPDM E/R >> System Description >> Relay Control System >> System Diagram
April 5, 2026: LEMON Manuals is launched! Read the announcement.

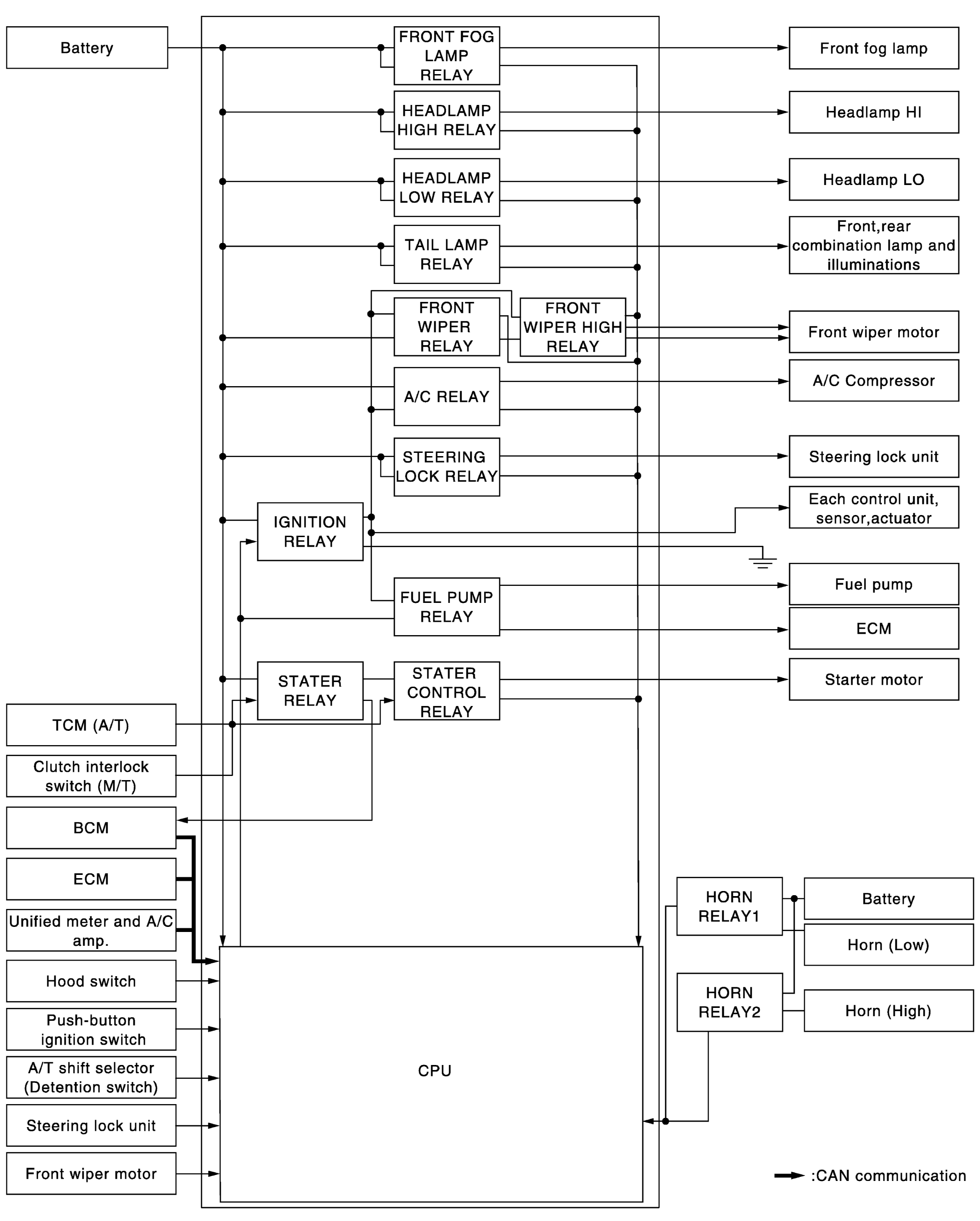
System Diagram

Fig 1: Relay Control - System Diagram
G05975004Courtesy of NISSAN NORTH AMERICA, INC.