LEMON Manuals
: Even more car manuals for everyone: 1960-2025
Home
>>
Infiniti
>>
2012
>>
G25 x
>>
Repair and Diagnosis
>>
External Pages
>>
Different car
>>
Section 11 (Power Window Control System)
>>
System Description
>>
System
>>
System Description
>>
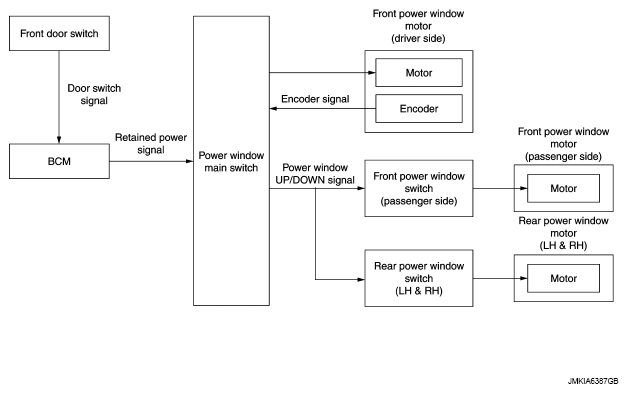
System Diagram
April 5, 2026:
LEMON Manuals is launched!
Read the announcement.
System Diagram
WARNING:
This page is about a different car, the 2011 Nissan Leaf. However, it is still accessible from the selected car via links, so may be relevant.
Fig 1: Power Window Control - System Diagram
Courtesy of NISSAN MOTOR CO., U.S.A.