LEMON Manuals: Even more car manuals for everyone: 1960-2025
Home >> Infiniti >> 2012 >> G37 Base, 2D Convertible >> Repair and Diagnosis (Single Page) >> Accessories & Equipment >> Infotainment >> Audio, Visual & Navigation System (Convertible) >> BOSE Audio Without Navigation >> System Description >> System >> Multi Av System >> MULTI AV SYSTEM: System Diagram
April 5, 2026: LEMON Manuals is launched! Read the announcement.

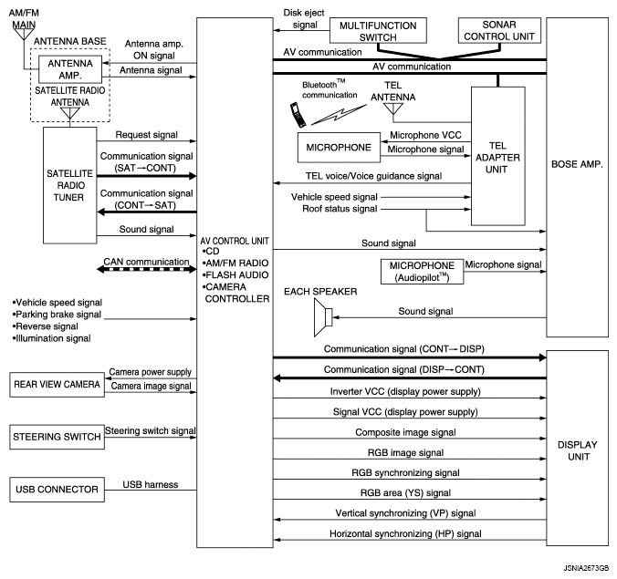
MULTI AV SYSTEM: System Diagram

Fig 1: Multi AV - System Diagram
G06625229Courtesy of NISSAN NORTH AMERICA, INC.
NOTE:
  • The name MULTIFUNCTION SWITCH indicates the integration of PRESET SWITCH and MULTIFUNCTION SWITCH virtually.
  • An antenna base integrated with radio antenna and satellite radio antenna is adopted.
Fig 2: Radio And Satellite Radio Antenna Communication Diagram
G05731530Courtesy of NISSAN NORTH AMERICA, INC.