LEMON Manuals: Even more car manuals for everyone: 1960-2025
Home >> Infiniti >> 2012 >> G37 Base, 2D Convertible >> Repair and Diagnosis >> External Pages >> Different car >> Section 111 (EV Control System) >> DTC/Circuit Diagnosis >> SSOFF Relay >> Component Inspection (SSOFF Relay)
April 5, 2026: LEMON Manuals is launched! Read the announcement.

Component Inspection (SSOFF Relay)

WARNING: This page is about a different car, the 2011 Nissan Leaf. However, it is still accessible from the selected car via links, so may be relevant.
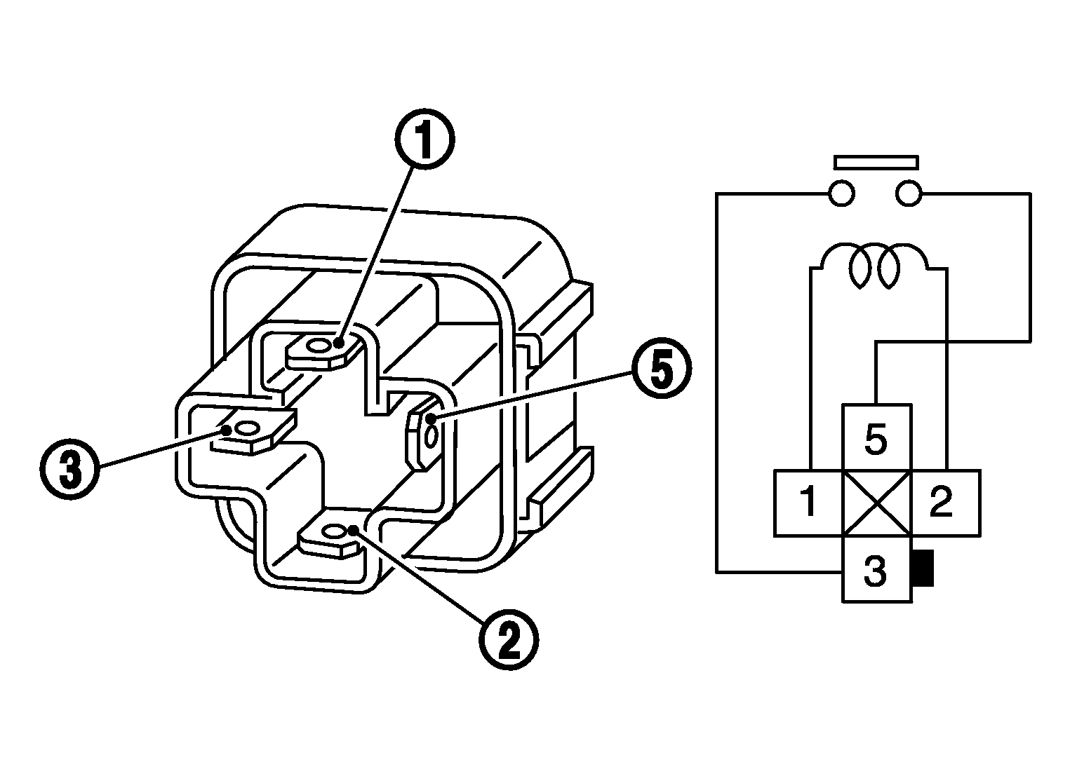
  1. CHECK SSOFF RELAY
    1. Turn power switch OFF.
    2. Remove SSOFF relay.
    3. Check the continuity between SSOFF relay terminals under the following conditions.
    CONTINUITY REFERENCE CHART

    Terminals Conditions Continuity
    3 and 5 12 V direct current supply between terminals 1 and 2 Existed
    No current supply Not existed
    Fig 1: Checking Continuity Between SSOFF Relay Terminals
    G05978557Courtesy of NISSAN MOTOR CO., U.S.A.

    Is the inspection result normal? 

    YES: INSPECTION END

    NO: Replace SSOFF relay.