LEMON Manuals
: Even more car manuals for everyone: 1960-2025
Home
>>
Infiniti
>>
2012
>>
G37 IPL, Automatic Trans
>>
Repair and Diagnosis (Single Page)
>>
Body & Frame
>>
Seats
>>
Automatic Drive Positioner (Coupe)
>>
System Description
>>
Automatic Drive Positioner System
>>
Memory Function
>>
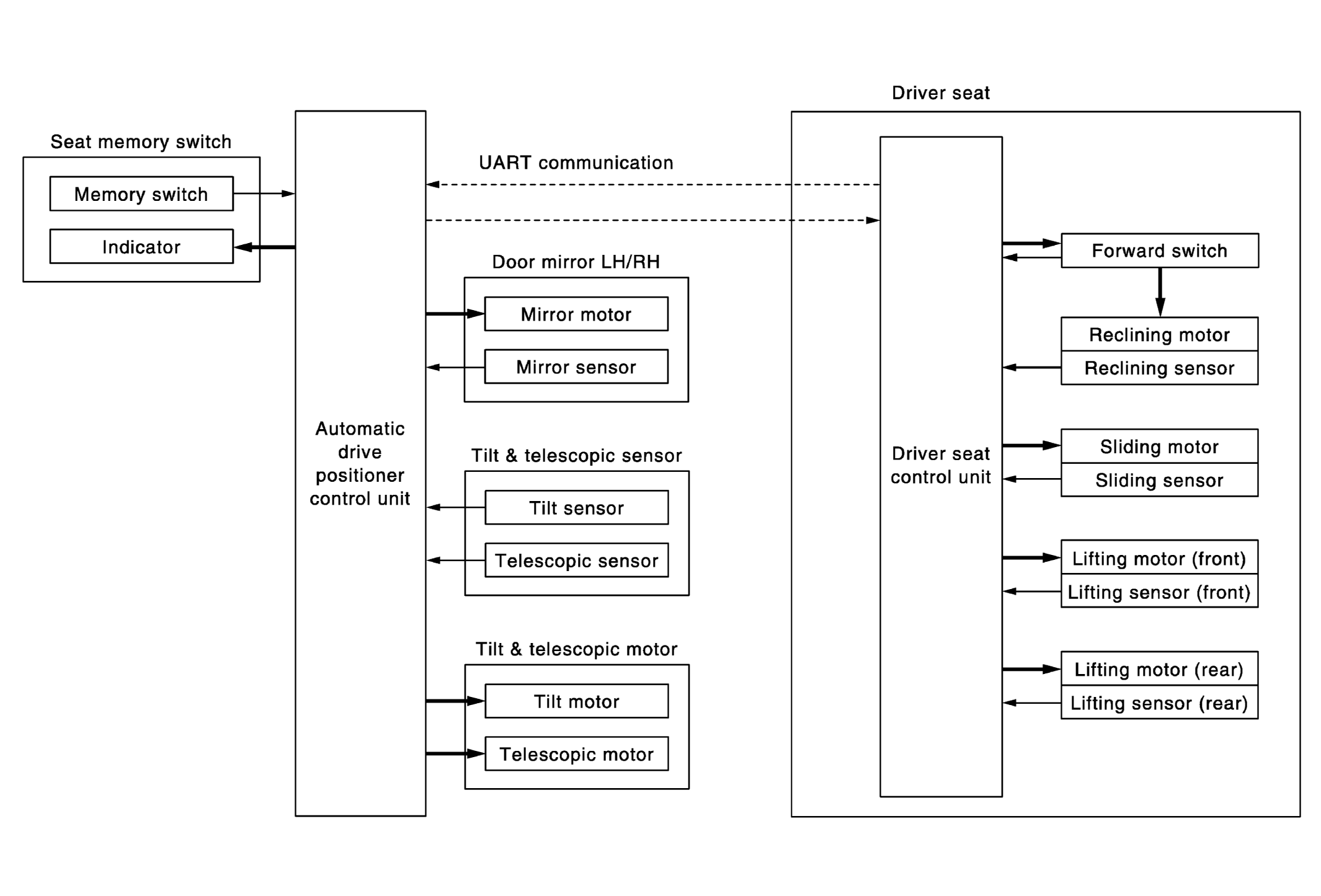
MEMORY FUNCTION: System Diagram
April 5, 2026:
LEMON Manuals is launched!
Read the announcement.
MEMORY FUNCTION: System Diagram
Fig 1: Memory Function - System Diagram
Courtesy of NISSAN NORTH AMERICA, INC.