LEMON Manuals: Even more car manuals for everyone: 1960-2025
Home >> Infiniti >> 2013 >> G37 Base >> Repair and Diagnosis >> Body & Frame >> Door Locks >> Security Control System (Convertible) >> System Description >> Vehicle Security System >> System Diagram
April 5, 2026: LEMON Manuals is launched! Read the announcement.

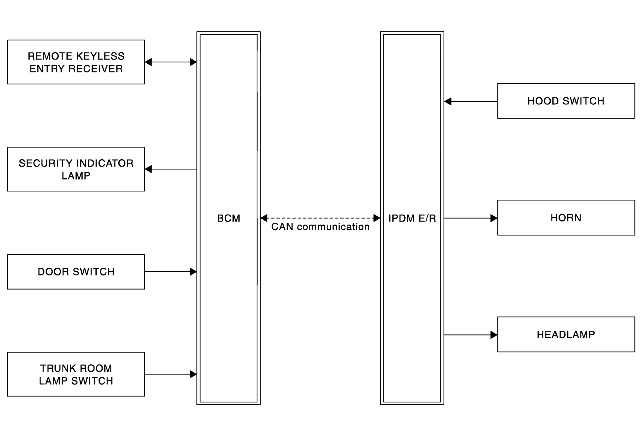
System Diagram

Fig 1: Vehicle Security System Diagram
G05974267Courtesy of NISSAN NORTH AMERICA, INC.